Datasheet4U Logo Datasheet4U.com

BD6081GVW Compound LED Driver

📥 Download Datasheet  Datasheet Preview Page 1

Description

www.DataSheet4U.com Appendix Notes No technical content pages of this document may be reproduced in any form or transmitted by any means without pri.

📥 Download Datasheet

Preview of BD6081GVW PDF
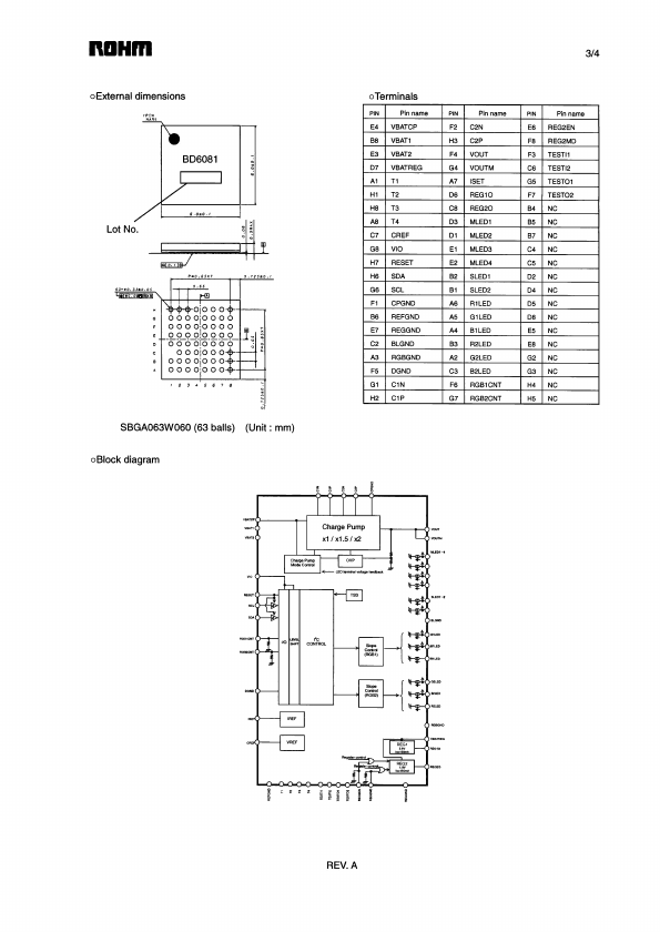
datasheet Preview Page 2 datasheet Preview Page 3

Datasheet Specifications

Part number
BD6081GVW
Manufacturer
ROHM ↗
File Size
369.78 KB
Datasheet
BD6081GVW_Rohm.pdf
Description
Compound LED Driver

BD6081GVW Distributors

📁 Related Datasheet

  • BD608 - (BD6xx) Silicon Power Transistor (ETC)
  • BD601 - (BD6xx) Silicon Power Transistor (ETC)
  • BD60203EFV - 2ch DC Brush Motor Driver (ROHM)
  • BD605 - (BD6xx) Silicon Power Transistor (ETC)
  • BD606 - (BD6xx) Silicon Power Transistor (ETC)
  • BD607 - (BD6xx) Silicon Power Transistor (ETC)

📌 All Tags

Rohm BD6081GVW-like datasheet