Datasheet4U Logo Datasheet4U.com

SN54ALVTH16821 20-BIT BUS-INTERFACE FLIP-FLOPS

SN54ALVTH16821 Description

SN54ALVTH16821, SN74ALVTH16821 2.5-V/3.3-V 20-BIT BUS-INTERFACE FLIP-FLOPS WITH 3-STATE OUTPUTS SCES078E * JULY 1996 * REVISED JANUARY.
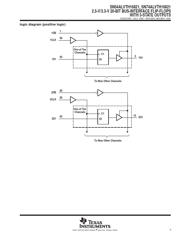
The ’ALVTH16821 devices are 20-bit bus-interface flip-flops with 3-state outputs designed for 2.

SN54ALVTH16821 Applications

* of Texas Instruments semiconductor products and disclaimers thereto appears at the end of this data sheet. Widebus is a trademark of Texas Instruments Incorporated. UNLESS OTHERWISE NOTED this document contains PRODUCTION DATA information current as of publication date. Products conform to specific

📥 Download Datasheet

Preview of SN54ALVTH16821 PDF
datasheet Preview Page 2 datasheet Preview Page 3

📁 Related Datasheet

  • SN54GTL16612 - 18-Bit LVTTL-to-GTL/GTL+ Universal Bus Transceivers (Rev. K) (ETCTI)
  • SN54HC595J - 16-bit bus transceiver and transparant D-type latch (nexperia)
  • SN54LS00 - QUAD 2-INPUT NAND GATE (Motorola Inc)
  • SN54LS01 - QUAD 2-INPUT NAND GATE (Motorola Inc)
  • SN54LS02 - QUAD 2-INPUT NOR GATE (Motorola Inc)
  • SN54LS03 - QUAD 2-INPUT NAND GATE (Motorola Inc)
  • SN54LS04 - HEX INVERTER (Motorola Inc)
  • SN54LS05 - HEX INVERTER (Motorola Inc)

📌 All Tags

Texas Instruments SN54ALVTH16821-like datasheet