Datasheet4U Logo Datasheet4U.com

FPF2193 - Full-Function Load Switch

FPF2193 Description

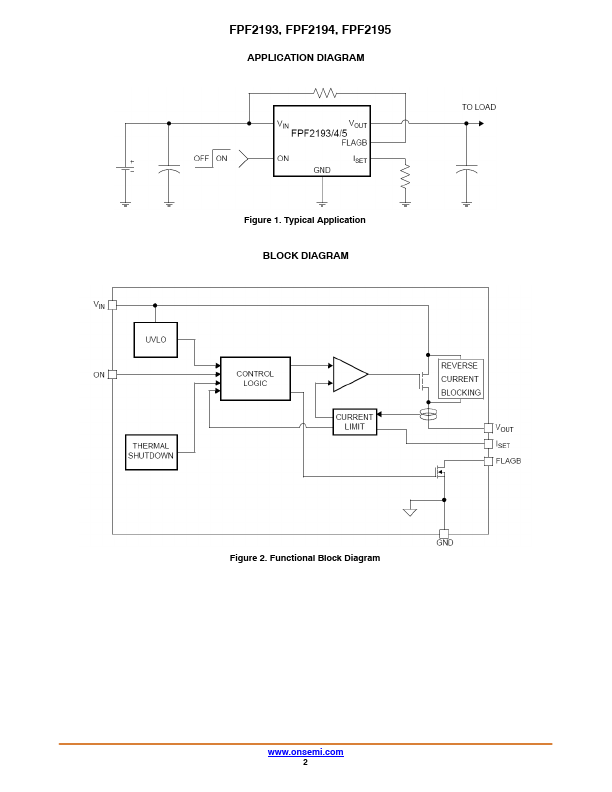
Full-Function Load Switch with Adjustable Current Limit FPF2193, FPF2194, FPF2195 .
The FPF2193, FPF2194, and FPF2195 form a series of load switches that provides full protection to systems and loads that may encounter large current c.

FPF2193 Applications

* PDAs
* Cell Phones
* Handheld GPS Devices
* Portable Enterprise / Industrial Devices
* Digital Cameras
* Peripheral Ports and Accessories
* Portable Medical Equipment
* Hot Swap Supplies  Semiconductor Components Industries, LLC, 2017 1 April, 2025
* Rev

📥 Download Datasheet

Preview of FPF2193 PDF
datasheet Preview Page 2 datasheet Preview Page 3

Datasheet Details

Part number
FPF2193
Manufacturer
onsemi
File Size
552.84 KB
Datasheet
FPF2193-onsemi.pdf
Description
Full-Function Load Switch

📁 Related Datasheet

  • FPF2194 - Full-Function Load Switch (Fairchild Semiconductor)
  • FPF2195 - Full-Function Load Switch (Fairchild Semiconductor)
  • FPF2100 - (FPF2100 - FPF2107) IntelliMAX Advanced Load Management Products (Fairchild Semiconductor)
  • FPF2101 - (FPF2100 - FPF2107) IntelliMAX Advanced Load Management Products (Fairchild Semiconductor)
  • FPF2102 - (FPF2100 - FPF2107) IntelliMAX Advanced Load Management Products (Fairchild Semiconductor)
  • FPF2103 - (FPF2100 - FPF2107) IntelliMAX Advanced Load Management Products (Fairchild Semiconductor)
  • FPF2104 - (FPF2100 - FPF2107) IntelliMAX Advanced Load Management Products (Fairchild Semiconductor)
  • FPF2105 - (FPF2100 - FPF2107) IntelliMAX Advanced Load Management Products (Fairchild Semiconductor)

📌 All Tags

onsemi FPF2193-like datasheet