Datasheet4U Logo Datasheet4U.com

S-35190A Datasheet 3-wire Real-time Clock

Manufacturer: ABLIC

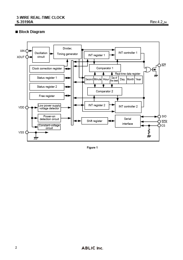
Overview: S-35190A .ablic. © ABLIC Inc., 2004-2018 3-WIRE REAL-TIME CLOCK Rev.4.2_04 The S-35190A is a CMOS 3-wire real-time clock IC which operates with the very low current consumption in the wide range of operation voltage. The operation voltage is 1.3 V to 5.5 V so that the S-35190A can be used for various power supplies from main supply to backup battery. Due to the 0.25 A current consumption and wide range of power supply voltage at time keeping, the S-35190A makes the battery life longer. In the system which operates with a backup battery, the included free registers can be used as the function for user's backup memory. Users always can take back the information in the registers which is stored before power-off the main power supply, after the voltage is restored. The S-35190A has the function to correct advance / delay of the clock data speed, in the wide range, which is caused by the crystal oscillation circuit's frequency deviation. Correcting according to the temperature change by bining this function and a temperature sensor, it is possible to make a high precise clock function which is not affected by the ambient temperature.

Datasheet Details

Part number S-35190A
Manufacturer ABLIC
File Size 782.40 KB
Description 3-WIRE REAL-TIME CLOCK
Datasheet S-35190A-ABLIC.pdf

Key Features

  • Low current consumption: 0.25 A typ. (VDD = 3.0 V, Ta = 25C).
  • Wide range of operating voltage: 1.3 V to 5.5 V.
  • Built-in clock correction function.
  • Built-in free user register.
  • 3-wire (.

S-35190A Distributor