Part AD4692
Description 16-Channel Easy Drive Multiplexed SAR ADC
Manufacturer Analog Devices
Size 2.61 MB
Analog Devices
AD4692

Overview

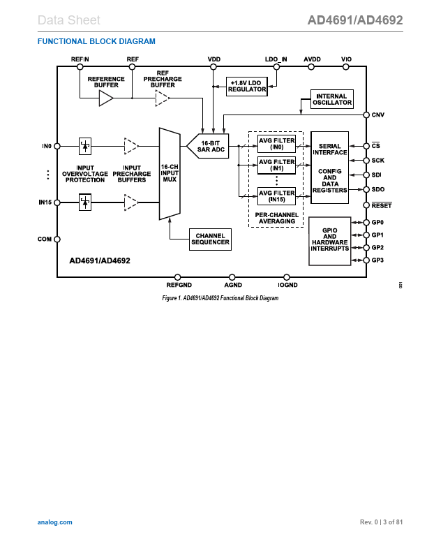
The AD4691/AD4692 are compact, high accuracy, 16-channel, 16bit successive approximation register (SAR) analog-to-digital converters (ADCs) optimized for high-density multichannel precision data acquisition solutions. The AD4691/AD4692 combine precision performance with Easy Drive features and flexible digital processing to ensure compatibility with space-constrained analog front-end (AFE) designs and low-power digital hosts.

  • Easy Drive features enable compact system designs
  • Precharge buffers reduce analog input and reference circuit drive requirements
  • On-chip reference buffer (WLCSP only)
  • Small footprint, big performance
  • Sample rate: 500kSPS (AD4691) and 1MSPS (AD4692)
  • INL: ±0.85 LSB maximum
  • Guaranteed 16-bit, no missing codes
  • First conversion accurate
  • SINAD: 93dB typical, fIN = 1kHz
  • 14.6mW at fS = 1MSPS and 7.3mW at fS = 500kSPS