• Part: AT24CM02
  • Description: I2C-Compatible (2-wire) Serial EEPROM
  • Category: EEPROM
  • Manufacturer: Atmel
  • Size: 0.99 MB
Download AT24CM02 Datasheet PDF
Atmel
AT24CM02
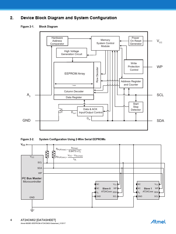
Features - Low Voltage and Standard Voltage Operation Available ̶ 1.7V (VCC = 1.7V to 5.5V) ̶ 2.5V (VCC = 2.5V to 5.5V) - Internally Organized 262,144 x 8 (2-Mbit, 256-Kbyte) - I2C-patible (2-wire) Serial Interface ̶ 100k Hz Standard Mode, 1.7V to 5.5V ̶ 400k Hz Fast Mode, 1.7 to 5.5V ̶ 1MHz Fast Mode Plus (FM+) 2.5V to 5.5V - Schmitt Trigger, Filtered Inputs for Noise Suppression - Bidirectional Data Transfer Protocol - Write Protect Pin for Full Array Hardware Data Protection - 256-byte Page Write Mode ̶ Byte Write and Partial Page Writes Allowed - Self-timed Write Cycle ̶ All Write operations plete within 10ms max - Random and Sequential Read Modes - Built in Error Detection and Correction - High Reliability ̶ Endurance: 1,000,000 write cycles ̶ Data retention: 100 years - Green Package Options (Lead-free/Halide-free/Ro HS pliant) ̶ 8-lead JEDEC SOIC and Thin or Standard Thickness 8-ball WLCSP - Die Sale Options: Wafer Form and Tape and Reel Available Description The Atmel® AT24CM02...