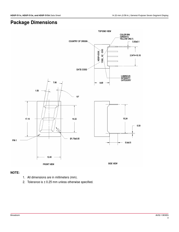
HDSP-515A Overview
This 14.22-mm (0.56-in.) LED seven-segment display uses industry-standard size package and pinout. The device is available in either mon anode or mon cathode. The choice of colors includes High Efficiency Red (HER), Green, AlGaAs Red, and Yellow.
HDSP-515A Key Features
- Industry standard size
- Industry standard pinout
- Choice of colors
- Excellent appearance Evenly lighted segments package gives optimum contrast ± 50° viewing angle
- Design flexibility mon anode or mon cathode Single digit Right-hand decimal point
- Categorized for luminous intensity Green and yellow categorized for color
- Green HDSP-511G HDSP-513G
- AlGaAs Red HDSP-511A HDSP-513A HDSP-515A
- Description mon Anode, Gray Surface, Right-Hand Decimal mon Cathode, Gray Surface, Right-Hand Decimal mon Cathode, Black
- x1 x2 x3 x4
HDSP-515A Applications
- Suitable for indoor use
- Not remended for industrial application, that is
