• Part: CSC01
  • Description: CURRENT SHARE CIRCUIT
  • Manufacturer: CINCON
  • Size: 397.04 KB
CSC01 Datasheet (PDF) Download
CINCON
CSC01

Description

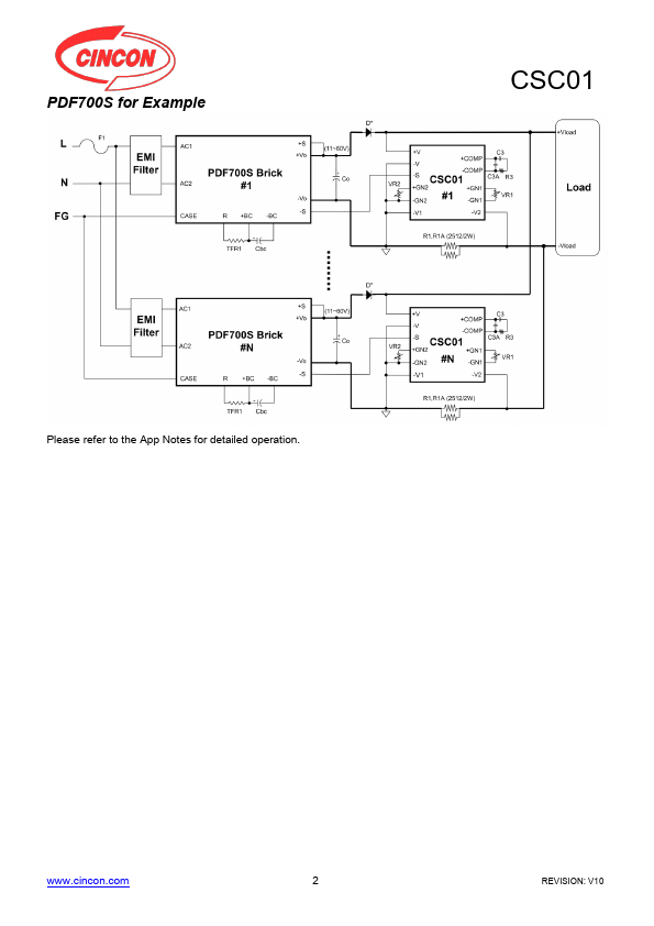
2 -V1 -V1 Signal Sense Resistor for Converter Side 3 -GN1 Voltage Adjustment Adjust Full Load Output Voltage with VR1 4 -GN2 Voltage Adjustment Adjust Null Load Output Voltage with VR2 5 -P Feedback Negative Feedback pensation 6 -S -Sense Negative Output Remote Sense of Converter 11 -V Ground Ground 14 +V Provide Bias Power Supply Providing Bias to CSC01 20 +P Feedback Positive Feedback pensation 21 +GN2 Voltage Adjustment Adjust Null Load Output Voltage with VR2 22 +GN1 Voltage Adjustment Adjust Full Load Output Voltage with VR1 23 -V2 -V2 Signal Sense Resistor for Load Side sales@cincon..tw .cincon.

Key Features

  • Current Sharing Module for Parallel
  • Voltage Droop Methods
  • No Sharing Pin Connection Requirement
  • No Tantalum Capacitor Inside
  • Wide Input Voltage Range
  • Wide Operating Temperature Range
  • DIP-24 Package
  • External Sense Resistor