• Part: AP5004
  • Description: PWM CONTROL 2.5A STEP-DOWN CONVERTER
  • Manufacturer: Diodes Incorporated
  • Size: 214.67 KB
Download AP5004 Datasheet PDF
Diodes Incorporated
AP5004
AP5004 is PWM CONTROL 2.5A STEP-DOWN CONVERTER manufactured by Diodes Incorporated.
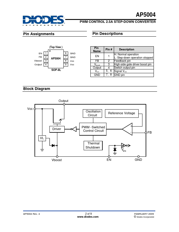
PWM CONTROL 2.5A STEP-DOWN CONVERTER Features - Input Voltage: 10V to 32V - Adjustable Output Voltage from 0.8V to 6V - Duty Ratio: 0% to 90% PWM control - Oscillation Frequency: 300KHz typical - Short Circuit Protect Frequency:50 KHz - 2u A Maximum Standby Current - Current Limit, Enable Function - Thermal Shutdown Function - Built-in Internal SW N-channel MOS - SOP-8L: Available in “Green” Molding pound (No Br, Sb) - Lead Free Finish/Ro HS pliant (Note 1) Applications - Microprocessor Core Supply - Networking Power Supply - LCD MNT, TV Power Supply - Tele Power Supply Ordering Information General Description AP5004 consists of step-down switching regulator with PWM control. These devices include a reference voltage source, oscillation circuit, error amplifier, internal NMOS. AP5004 provides low-ripple power, high efficiency and excellent transient characteristics. The PWM control circuit is able to vary the duty ratio linearly from 0 up to 90%. An enable function, an over current protect function and a short circuit protect function are built inside, and when OCP or SCP happens, the operation frequency will be reduced from 300 KHz to 50 KHz. Also, an internal pensation block is built to minimize external ponent count. With built-in power NMOS, a step-down switching regulator is easy to be built by adding a coil, capacitors and a diode. The high efficiency, low standby current, high input voltage (32V) and output current (2.5A) bining with small SOP-8L package give AP5004 unprecedented advantage in high power system applications. AP5004 S G - 13 Package S : SOP-8L Lead Free Packing G : Green 13 : Tape & Reel Device AP5004SG-13 Package...