• Part: EC24C32T
  • Description: 32-Kbit I2C-compatible Serial EEPROM
  • Category: EEPROM
  • Manufacturer: E-CMOS
  • Size: 1.18 MB
Download EC24C32T Datasheet PDF
E-CMOS
EC24C32T
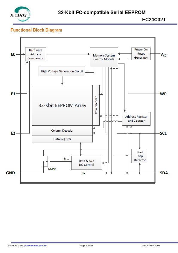
Features - Extended Supply Voltage Range: 1.6V to 5.5V - 2-wire Serial Interface I2C patible 400 k Hz and High Speed 1MHz Transfer Rate patibility - Byte and Page (up to 32 Bytes) Write Mode Partial Page Write Allowed - Self-timed Write Cycle (3ms Maximum) - Additional 32-byte Write Lockable Page and 128-bit Unique ID - Hardware and Software Write Protection on the Whole Memory Array - Schmitt Trigger, Filtered Inputs for Noise Suppression - High Reliability Endurance: 2,000,000 Write Cycles Data Retention: 200 Years ESD Protection (Human Body Model): 6000V - Low Operating Current Write Current: 1m A (Maximum) Read Current: 0.5m A (Maximum) Standby Current: 1μA (Maximum) - Operating Temperature Range: -40°C to +105°C - Green Packaging Options (Pb/Halide-free/Ro HS pliant) TSSOP-8, SOP-8 , DIP-8 General Description The EC24C32T is a 32-Kbit I2C-patible Serial EEPROM (Electrically Erasable Programmable Memory) device. The device is designed to operate in a supply voltage range of 1.6V to 5.5V, with a...