Datasheet4U Logo Datasheet4U.com
EM Microelectronic (Swatch Group) logo

EM4450

Manufacturer: EM Microelectronic (Swatch Group)

EM4450 datasheet by EM Microelectronic (Swatch Group).

EM4450 datasheet preview

EM4450 Datasheet Details

Part number EM4450
Datasheet EM4450_EMMicroelectronic.pdf
File Size 323.61 KB
Manufacturer EM Microelectronic (Swatch Group)
Description 1-KBit Read/Write Contactless Identification Device
EM4450 page 2 EM4450 page 3

EM4450 Overview

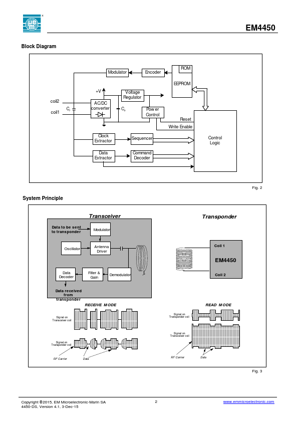
The EM4450 is a CMOS integrated circuit intended for use in electronic Read/Write RF Transponders. The chip contains 1K Bit of EEPROM which can be configured by the user, allowing a write inhibited area, a read protected area, and a read area output continuously at power on. The memory can be secured by using the 32 bit password for all write and read protected operations.

EM4450 Key Features

  • 1 K bit of EEPROM organized in 32 words of 32 bits
  • 32 bit Device Serial Number (Read Only Laser ROM)
  • 32 bit Device Identification (Read Only Laser ROM)
  • Power-On-Reset sequence
  • Power Check for EEPROM write operation
  • User defined Read Memory Area at Power On
  • User defined Write Inhibited Memory Area
  • User defined Read Protected Memory Area
  • Data Transmission performed by Amplitude Modulation
  • Two Data Rate Options 2 KBd (Opt64) or 4 KBd (Opt32)
EM Microelectronic (Swatch Group) logo - Manufacturer

More Datasheets from EM Microelectronic (Swatch Group)

View all EM Microelectronic (Swatch Group) datasheets

Part Number Description
EM4425 RAINFC AUTHENTICITY TRANSPONDER IC
EM4444 Read/Write UHF Identification Device
EM4469 512 bit Read/Write Contactless Identification Device
EM4033 64-bit Read Only CMOS
EM4069 128-bit Read/Write Contactless Identification
EM4094 Analog Front-End
EM4095 Read / Write Analog Front-End
EM4097 READ/WRITE ANALOG FRONT-END
EM4100 Read Only Contactless Identification Device
EM4102 Read Only Contactless Identification

EM4450 Distributor

Datasheet4U Logo
Since 2006. D4U Semicon. About Datasheet4U Contact Us Privacy Policy Purchase of parts