• Part: EM4550
  • Description: 1 KBit Read/Write Contactless Identification Device
  • Manufacturer: EM Microelectronic
  • Size: 229.21 KB
Download EM4550 Datasheet PDF
EM Microelectronic
EM4550
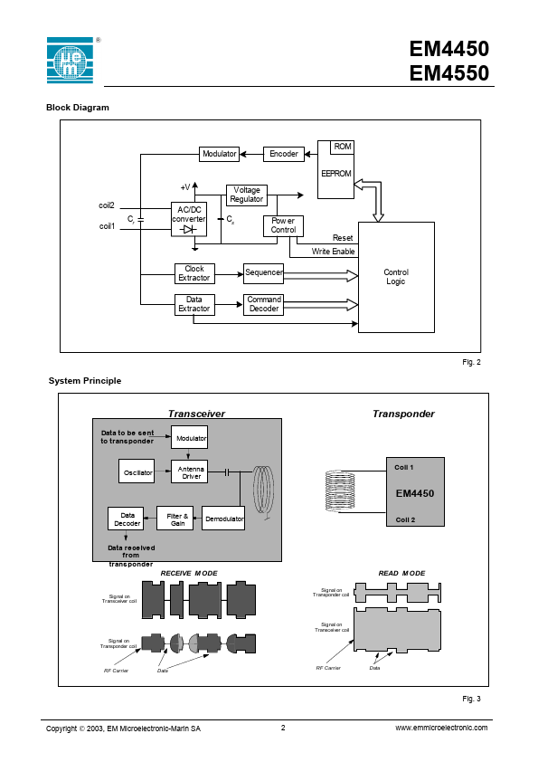
EM4550 is 1 KBit Read/Write Contactless Identification Device manufactured by EM Microelectronic.
Description The EM4450/4550 is a CMOS integrated circuit intended for use in electronic Read/Write RF Transponders. The difference between EM4450 and EM4550 is that EM4550 are bumped and has megapads for the two coils. The chip contains 1 KBit of EEPROM which can be configured by the user, allowing a write inhibited area, a read protected area, and a read area output continuously at power on. The memory can be secured by using the 32 bit password for all write and read protected operations. The password can be updated, but never read. The fixed code serial number and device identification are laser programmed making every chip unique. The EM4450/4550 will transmit data to the transceiver by modulating the amplitude of the electromagnetic field, and receive data and mands in a similar way. Simple mands will enable to write EEPROM, to update the password, to read a specific memory area, and to reset the logic. The coil of the tuned circuit is the only external ponent required, all remaining functions are integrated in the chip. Features 1 KBit of EEPROM organized in 32 words of 32 bits 32 bit Device Serial Number (Read Only Laser ROM) 32 bit Device Identification (Read Only Laser ROM) Power-On-Reset sequence Power Check for EEPROM write operation User defined Read Memory Area at Power On User defined Write Inhibited Memory Area User defined Read Protected Memory Area Data Transmission performed by Amplitude Modulation Two Data Rate Options 2 KBd (Opt64) or 4 KBd (Opt32) Bit Period = 64 or 32 periods of field frequency 170 p F ± 2% on chip Resonant Capacitor -40 to +85°C Temperature range 100 to 150 k Hz Field Frequency range On chip Rectifier and Voltage Limiter No external supply buffer capacitance needed due to low power consumption Available in chip form for mass production and PCB and CID package for samples. Typical Operating Configuration Applications Ticketing Automotive Immobilizer with rolling code High Security Hands Free Access Control Industrial...