Datasheet4U Logo Datasheet4U.com
ESMT (Elite Semiconductor Microelectronics Technology) logo

AD51050B

Manufacturer: ESMT (Elite Semiconductor Microelectronics Technology)
AD51050B datasheet preview

Datasheet Details

Part number AD51050B
Datasheet AD51050B-ESMT.pdf
File Size 834.24 KB
Manufacturer ESMT (Elite Semiconductor Microelectronics Technology)
Description Mono Class-D Audio Amplifier
AD51050B page 2 AD51050B page 3

AD51050B Overview

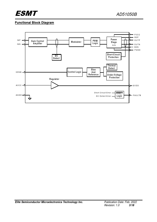
The AD51050B is a high efficiency mono class-D audio amplifier. The loudspeaker driver operates from 4.5V~14.4V supply voltage, it can deliver 8W/CH output power into 4 loudspeaker within 1% THD+N at 12V supply voltage and without external heat sink when playing music. Output DC detection prevents speaker damage from long-time current stress.AD51050B provides superior EMC performance for filter-free application.

AD51050B Key Features

  • Single supply voltage 4.5V ~ 14.4V for loudspeaker driver Built-in LDO output 5.5V for others
  • 93% efficient Class-D operation eliminates need for heat sink
  • Differential inputs
  • Internal oscillator
  • Short-Circuit protection with auto recovery option
  • Under-Voltage detection
  • Over-Voltage protection
  • Pop noise and click noise reduction
  • Output DC detection for speaker protection
  • Filter-Free operation
ESMT (Elite Semiconductor Microelectronics Technology) logo - Manufacturer

More Datasheets from ESMT (Elite Semiconductor Microelectronics Technology)

See all ESMT (Elite Semiconductor Microelectronics Technology) datasheets

Part Number Description
AD51058C 15W Mono Class-D Audio Amplifier
AD51652B Mono Filter-less Class-D Audio Amplifier
AD51653 4.2W Mono Class-K Audio Amplifier
AD52010 3W Stereo Filter-less Class-D Audio Amplifier
AD52050 Stereo Class-D Audio Amplifier
AD52050C 2x15WStereo Class-D Audio Amplifier
AD52051C Stereo Class-D Audio Amplifier with Power Limit
AD52058 Stereo Class-D Audio Amplifier
AD52058C 2x15W Stereo Class-D Audio Amplifier
AD52060 2 x 20W Stereo Class-D Audio Amplifier

AD51050B Distributor

Datasheet4U Logo
Since 2006. D4U Semicon. About Datasheet4U Contact Us Privacy Policy Purchase of parts