Datasheet4U Logo Datasheet4U.com
ESMT (Elite Semiconductor Microelectronics Technology) logo

EHP6388 Datasheet

Manufacturer: ESMT (Elite Semiconductor Microelectronics Technology)
EHP6388 datasheet preview

Datasheet Details

Part number EHP6388
Datasheet EHP6388-ESMT.pdf
File Size 1.98 MB
Manufacturer ESMT (Elite Semiconductor Microelectronics Technology)
Description High-Side Power Switch with Flag
EHP6388 page 2 EHP6388 page 3

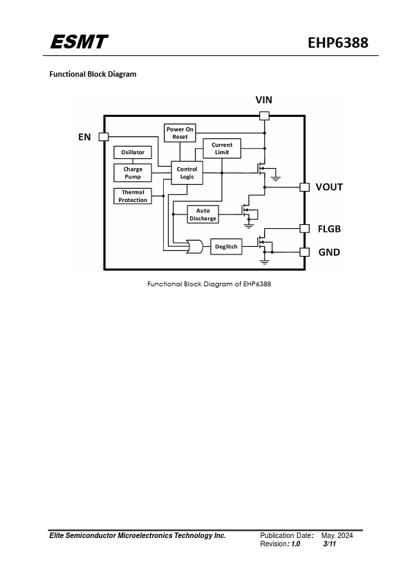
EHP6388 Overview

The EHP6388 is a cost-effective, low voltage, single N-MOSFET high-side Power Switch IC for USB application. Low switch-on resistance and low supply current are realized in this IC. The EHP6388 integrates an over-current protection circuit, a short fold back circuit, a thermal shutdown circuit and an under-voltage lockout circuit for overall protection.

ESMT (Elite Semiconductor Microelectronics Technology) logo - Manufacturer

More Datasheets from ESMT (Elite Semiconductor Microelectronics Technology)

See all ESMT (Elite Semiconductor Microelectronics Technology) datasheets

Part Number Description
EHP8041 Ultralow Quiescent Current LDO
EHP8042 Ultralow Quiescent Current LDO
EHP8043 Ultralow Quiescent Current LDO
EHP8150 300mA Linear Regulator
EHP878L 30V 100mA Linear Regulator

EHP6388 Distributor

Datasheet4U Logo
Since 2006. D4U Semicon. About Datasheet4U Contact Us Privacy Policy Purchase of parts