Datasheet4U Logo Datasheet4U.com
ESMT (Elite Semiconductor Microelectronics Technology) logo

EML3350

Manufacturer: ESMT (Elite Semiconductor Microelectronics Technology)

EML3350 datasheet by ESMT (Elite Semiconductor Microelectronics Technology).

EML3350 datasheet preview

EML3350 Datasheet Details

Part number EML3350
Datasheet EML3350-ESMT.pdf
File Size 610.62 KB
Manufacturer ESMT (Elite Semiconductor Microelectronics Technology)
Description 1.5MHz Non-synchronous Step-Down Converter
EML3350 page 2 EML3350 page 3

EML3350 Overview

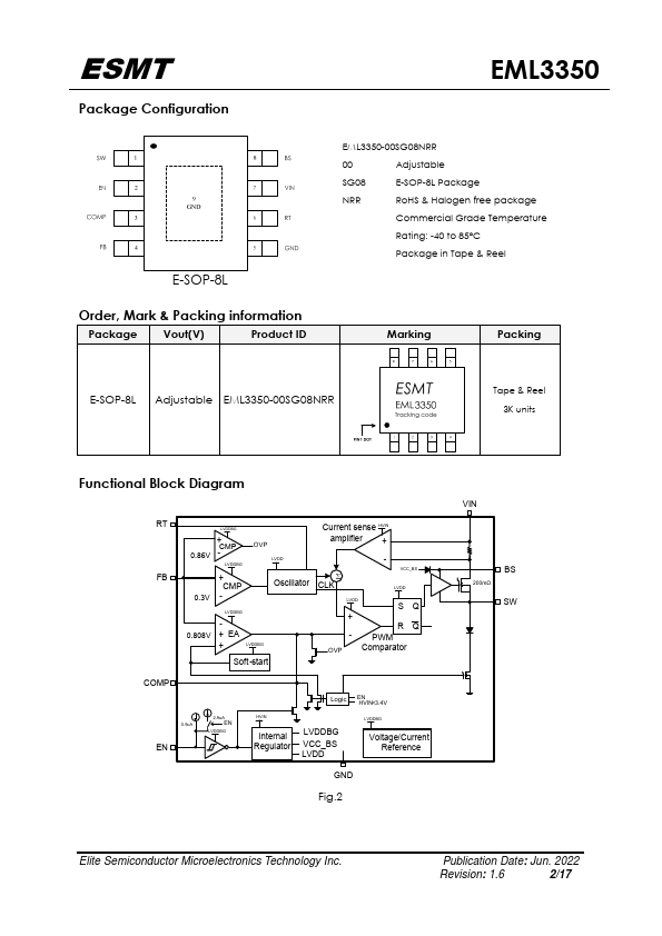
The EML3350 is a frequency adjustable, 1.5A, current-mode step-down converter with an integrated high-side switch. The EML3350 operates with the wide input voltage from 4.5V to 60V and provides an adjustable output voltage from 0.8V to 48V.

EML3350 Key Features

  • 4.5V to 60V Input Voltage Range
  • 1.5A Continuous Output Current
  • 200mΩ Internal Power MOSFET Switch
  • Output Adjustable from 0.8V
  • Output Over-Voltage Protection
  • Up to 1.5MHz Adjustable Switching Frequency
  • Cycle-by-Cycle Current Limit, Frequency Fold
  • Stable with Low ESR Output Ceramic
  • 2ms Internal Soft-Start
  • Thermally Enhanced E-SOP-8L Package
ESMT (Elite Semiconductor Microelectronics Technology) logo - Manufacturer

More Datasheets from ESMT (Elite Semiconductor Microelectronics Technology)

View all ESMT (Elite Semiconductor Microelectronics Technology) datasheets

Part Number Description
EML3320 Synchronous Step-Down Regulator
EML3380 Synchronous Step-Down Regulator
EML3190 420kHz Non-synchronous Step-Down Converter
EML3191 1.5MHz Non-synchronous Step-Down Converter
EML3192 420kHz Non-synchronous Step-Down Converter
EML3193 1.5MHz Non-synchronous Step-Down Converter
EML3193B 2MHz Non-synchronous Step-Down Converter
EML3276 Synchronous Step-Down DC-DC Converter
EML3290 1.5MHz Synchronous Step-Down Converter
EML3420 2.1MHz Non-synchronous Step-Down Converter

EML3350 Distributor

Datasheet4U Logo
Since 2006. D4U Semicon. About Datasheet4U Contact Us Privacy Policy Purchase of parts