Datasheet4U Logo Datasheet4U.com
ESMT (Elite Semiconductor Microelectronics Technology) logo

M14D1G8128A-2.5BG2P

Manufacturer: ESMT (Elite Semiconductor Microelectronics Technology)

M14D1G8128A-2.5BG2P datasheet by ESMT (Elite Semiconductor Microelectronics Technology).

This datasheet includes multiple variants, all published together in a single manufacturer document.

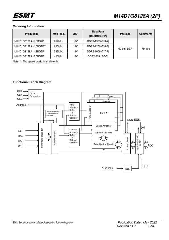
M14D1G8128A-2.5BG2P datasheet preview

M14D1G8128A-2.5BG2P Datasheet Details

Part number M14D1G8128A-2.5BG2P
Datasheet M14D1G8128A-2.5BG2P M14D1G8128A-1.5BG2P Datasheet (PDF)
File Size 1.57 MB
Manufacturer ESMT (Elite Semiconductor Microelectronics Technology)
Description 16M x 8 Bit x 8 Banks DDR II SDRAM
M14D1G8128A-2.5BG2P page 2 M14D1G8128A-2.5BG2P page 3

M14D1G8128A-2.5BG2P Overview

Pin Name A0~A13, BA0~BA2 DQ0~DQ7 RAS CAS WE VSS VDD DQS, DQS ODT NC Function Address inputs - Row address A0~A13 - Column address A0~A9 A10/AP : Auto.

M14D1G8128A-2.5BG2P Key Features

  • JEDEC Standard
  • VDD = 1.8V ± 0.1V, VDDQ = 1.8V ± 0.1V
  • Internal pipelined double-data-rate architecture; two data access per clock cycle
  • Bi-directional differential data strobe (DQS, DQS ); DQS can be disabled for single-ended data strobe operation
  • On-chip DLL
  • Differential clock inputs (CLK and CLK )
  • DLL aligns DQ and DQS transition with CLK transition
  • 8 bank operation
  • CAS Latency : 3, 4, 5, 6, 7
  • Additive Latency: 0, 1, 2, 3, 4, 5, 6
ESMT (Elite Semiconductor Microelectronics Technology) logo - Manufacturer

More Datasheets from ESMT (Elite Semiconductor Microelectronics Technology)

View all ESMT (Elite Semiconductor Microelectronics Technology) datasheets

Part Number Description
M14D1G8128A-1.5BG2P 16M x 8 Bit x 8 Banks DDR II SDRAM
M14D1G8128A-1.6BG2P 16M x 8 Bit x 8 Banks DDR II SDRAM
M14D1G8128A-1.8BG2P 16M x 8 Bit x 8 Banks DDR II SDRAM
M14D1G1664A 8M x 16 Bit x 8 Banks DDR II SDRAM
M14D1G1664A-1.5BG2P 8M x 16 Bit x 8 Banks DDR II SDRAM
M14D1G1664A-1.5BG2S DDR-II SDRAM
M14D1G1664A-1.6BG2P 8M x 16 Bit x 8 Banks DDR II SDRAM
M14D1G1664A-1.6BG2S DDR-II SDRAM
M14D1G1664A-1.8BG2P 8M x 16 Bit x 8 Banks DDR II SDRAM
M14D1G1664A-1.8BG2S DDR-II SDRAM

M14D1G8128A-2.5BG2P Distributor

Datasheet4U Logo
Since 2006. D4U Semicon. About Datasheet4U Contact Us Privacy Policy Purchase of parts