Datasheet4U Logo Datasheet4U.com
ESMT (Elite Semiconductor Microelectronics Technology) logo

M54D1G3232A-2.5BKG2G

Manufacturer: ESMT (Elite Semiconductor Microelectronics Technology)

M54D1G3232A-2.5BKG2G datasheet by ESMT (Elite Semiconductor Microelectronics Technology).

This datasheet includes multiple variants, all published together in a single manufacturer document.

M54D1G3232A-2.5BKG2G datasheet preview

M54D1G3232A-2.5BKG2G Datasheet Details

Part number M54D1G3232A-2.5BKG2G
Datasheet M54D1G3232A-2.5BKG2G M54D1G3232A-1.8BKG2G Datasheet (PDF)
File Size 5.18 MB
Manufacturer ESMT (Elite Semiconductor Microelectronics Technology)
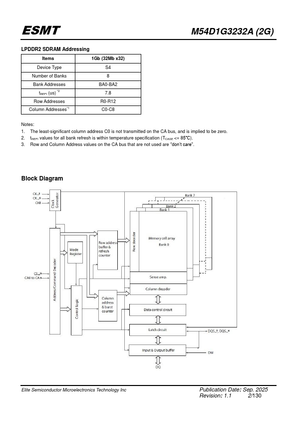
Description 4M x 32 Bit x 8 Banks LPDDR2 SDRAM
M54D1G3232A-2.5BKG2G page 2 M54D1G3232A-2.5BKG2G page 3

M54D1G3232A-2.5BKG2G Overview

ESMT M54D1G3232A (2G) LPDDR2 SDRAM 4M x 32 Bit x 8 Banks LPDDR2.

ESMT (Elite Semiconductor Microelectronics Technology) logo - Manufacturer

More Datasheets from ESMT (Elite Semiconductor Microelectronics Technology)

View all ESMT (Elite Semiconductor Microelectronics Technology) datasheets

Part Number Description
M54D1G3232A-2.5BKG 4M x 32 Bit x 8 Banks LPDDR2 SDRAM
M54D1G3232A-1.8BKG 4M x 32 Bit x 8 Banks LPDDR2 SDRAM
M54D1G3232A-1.8BKG2G 4M x 32 Bit x 8 Banks LPDDR2 SDRAM
M54D1G3232A-3BKG 4M x 32 Bit x 8 Banks LPDDR2 SDRAM
M54D1G1664A-1.8BKG 8M x 16 Bit x 8 Banks LPDDR2 SDRAM
M54D1G1664A-1.8BKG2G 8M x 16 Bit x 8 Banks LPDDR2 SDRAM
M54D1G1664A-2.5BKG 8M x 16 Bit x 8 Banks LPDDR2 SDRAM
M54D1G1664A-2.5BKG2G 8M x 16 Bit x 8 Banks LPDDR2 SDRAM
M54D1G1664A-3BKG 8M x 16 Bit x 8 Banks LPDDR2 SDRAM
M54D2G16128A 16M x 16 Bit x 8 Banks LPDDR2 SDRAM

M54D1G3232A-2.5BKG2G Distributor

Datasheet4U Logo
Since 2006. D4U Semicon. About Datasheet4U Contact Us Privacy Policy Purchase of parts