Datasheet4U Logo Datasheet4U.com
ESMT (Elite Semiconductor Microelectronics Technology) logo

EN25QE32A Datasheet

Manufacturer: ESMT (Elite Semiconductor Microelectronics Technology)
EN25QE32A datasheet preview

EN25QE32A Details

Part number EN25QE32A
Datasheet EN25QE32A-EonSiliconSolution.pdf
File Size 1.58 MB
Manufacturer ESMT (Elite Semiconductor Microelectronics Technology)
Description 32 Megabit 3V Serial Flash Memory
EN25QE32A page 2 EN25QE32A page 3

EN25QE32A Overview

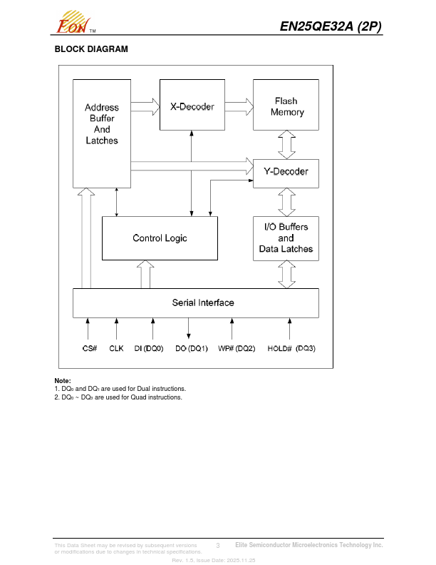
The device is a 32 Megabit (4096K-byte) Serial Flash memory, with advanced write protection mechanisms. The device supports the single bit and four bits serial input and output mands via standard Serial Peripheral Interface (SPI) pins: Serial Clock, Chip Select, Serial DQ0 (DI) and DQ1 (DO), DQ2 (WP#) and DQ3 (HOLD#).

EN25QE32A Key Features

  • Single power supply operation
  • Full voltage range: 2.3-3.6 volt
  • Serial Interface Architecture
  • SPI patible: Mode 0 and Mode 3
  • 32 M-bit Serial Flash
  • 32 M-bit / 4096 KByte / 16384 pages
  • 256 bytes per programmable page
  • Standard, Dual or Quad SPI
  • Standard SPI: CLK, CS#, DI, DO, WP#, HOLD#
  • Dual SPI: CLK, CS#, DQ0, DQ1, WP#, HOLD#

EN25QE32A Distributor

ESMT (Elite Semiconductor Microelectronics Technology) Datasheets

More from ESMT (Elite Semiconductor Microelectronics Technology)

Datasheet4U Logo
Since 2006. D4U Semicon. About Datasheet4U Contact Us Privacy Policy Purchase of parts