• Part: EN25QE32A
  • Description: (-2PC) 32 Megabit 3V Serial Flash Memory
  • Manufacturer: Elite Semiconductor Microelectronics Technology
  • Size: 1.91 MB
Download EN25QE32A Datasheet PDF
Elite Semiconductor Microelectronics Technology
EN25QE32A
EN25QE32A is (-2PC) 32 Megabit 3V Serial Flash Memory manufactured by Elite Semiconductor Microelectronics Technology.
- Part of the EN25QE32A-1 comparator family.
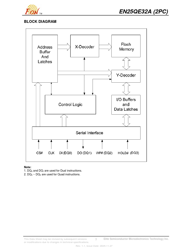
EN25QE32A (2PC) EN25QE32A (2PC) preliminary 32 Megabit 3V Serial Flash Memory with 4Kbyte Uniform Sector Features - Single power supply operation - Full voltage range: 2.3-3.6 volt - Serial Interface Architecture - SPI patible: Mode 0 and Mode 3 - 32 M-bit Serial Flash - 32 M-bit / 4096 KByte / 16384 pages - 256 bytes per programmable page - Standard, Dual or Quad SPI - Standard SPI: CLK, CS#, DI, DO - Dual SPI: CLK, CS#, DQ0, DQ1 - Quad SPI: CLK, CS#, DQ0, DQ1, DQ2, DQ3 - Default QE=1(Quad Enable), WP#, HOLD# disable - Configurable dummy cycle number - High performance - 104 MHz clock rate for Standard SPI - 104 MHz clock rate for two data bits - 104 MHz clock rate for four data bits - Low power consumption - 10 m A typical active current - 1 A typical power down current - Uniform Sector Architecture - 1024 sectors of 4-Kbyte - 128 blocks of 32-Kbyte - 64 blocks of 64-Kbyte - Any sector or block can be erased individually - Software and Hardware Write...