• Part: EN25QX64A
  • Description: 64 Megabit 3V Serial Flash Memory
  • Manufacturer: Elite Semiconductor Microelectronics Technology
  • Size: 2.40 MB
Download EN25QX64A Datasheet PDF
Elite Semiconductor Microelectronics Technology
EN25QX64A
EN25QX64A is 64 Megabit 3V Serial Flash Memory manufactured by Elite Semiconductor Microelectronics Technology.
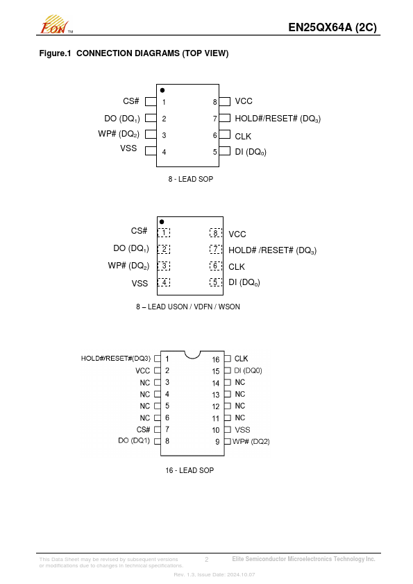
EN25QX64A (2C) EN25QX64A (2C) preliminary 64 Megabit 3V Serial Flash Memory with 4Kbyte Uniform Sector Features - Single power supply operation - Full voltage range: 2.7-3.6 volt - Serial Interface Architecture - SPI patible: Mode 0 and Mode 3 - 64 M-bit Serial Flash - 64 M-bit / 8,192 KByte /32,768 pages - 256 bytes per programmable page - Standard, Dual or Quad SPI - Standard SPI: CLK, CS#, DI, DO, WP#, HOLD#/RESET# - Dual SPI: CLK, CS#, DQ0, DQ1, WP#, HOLD#/RESET# - Quad SPI: CLK, CS#, DQ0, DQ1, DQ2, DQ3 - High performance - Full voltage range - 104MHz clock rate for Single/Dual/Quad I/O Fast Read - Regulated voltage range: 3.0-3.6 volt - 133Mhz clock rate for Quad I/O Fast Read...