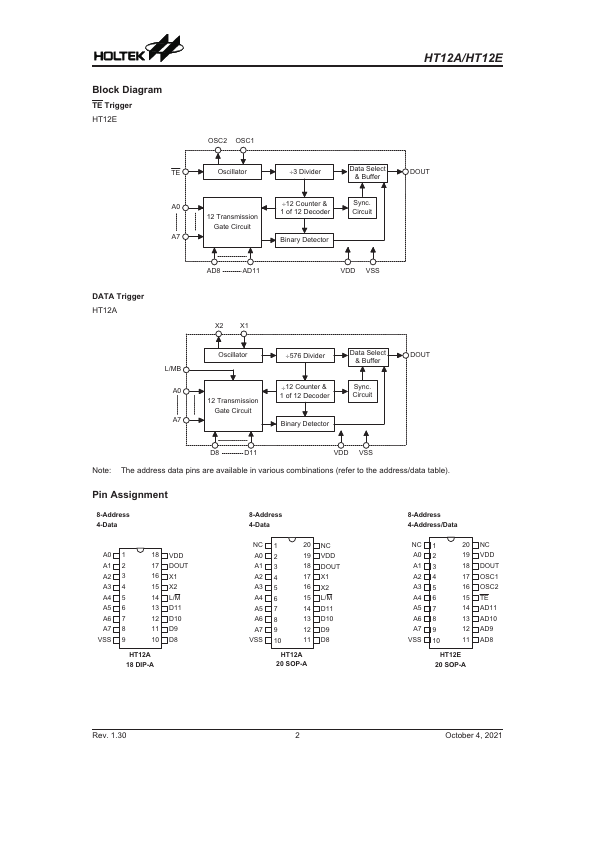
HT12E Overview
The 212 encoders are a series of CMOS LSIs for remote control system applications. They are capable of encoding information which consists of N address bits and 12-N data bits. Each address/data input can be set.
HT12E Key Features
- Operating voltage
- 2.4V~5V for the HT12A
- 2.4V~12V for the HT12E
- Low power and high noise immunity CMOS technology
- Low standby current: 0.1mA (typ.) at VDD=5V
- HT12A with a 38kHz carrier for infrared transmission
- Minimum transmission word
- Four words for the HT12E
- One word for the HT12A
- Built-in oscillator needs only 5% resistor

