Datasheet4U Logo Datasheet4U.com
Holtek Semiconductor logo

HT46R004

Manufacturer: Holtek Semiconductor

HT46R004 datasheet by Holtek Semiconductor.

HT46R004 datasheet preview

HT46R004 Datasheet Details

Part number HT46R004
Datasheet HT46R004-HoltekSemiconductor.pdf
File Size 1.84 MB
Manufacturer Holtek Semiconductor
Description Cost-Effective A/D 8-Bit OTP MCU
HT46R004 page 2 HT46R004 page 3

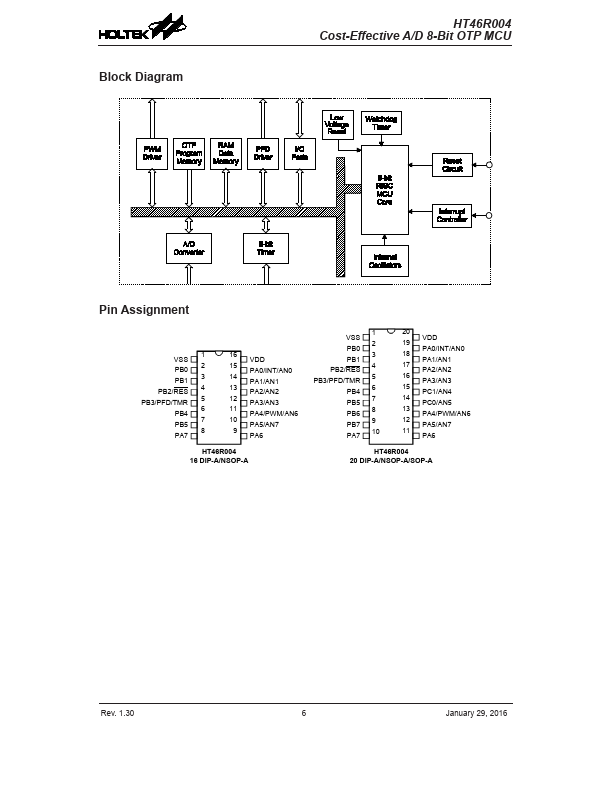
HT46R004 Overview

The device is an 8-bit high performance RISC architecture microcontroller device specifically designed for a wide range of applications. The advantages of low power consumption, I/O flexibility, timer functions, HALT and wake-up functions, watchdog timer, as well as low cost, enhance the versatility of the device to suit for a wide range of the I/O and A/D control application possibilities such as industrial...

HT46R004 Key Features

  • Operating voltage: fSYS=8MHz: 2.3V~5.5V
  • Up to 0.5μs instruction cycle with 8MHz system clock at VDD=5V
  • Power down and wake-up functions to reduce power consumption
  • Two oscillators: Internal high speed RC -- HIRC Internal low speed RC -- LIRC
  • Fully integrated internal 8MHz oscillator requires no external ponents
  • All instructions executed in one or two instruction cycles
  • Table read instruction
  • 63 powerful instructions
  • 4-level subroutine nesting
  • Bit manipulation instruction
Holtek Semiconductor logo - Manufacturer

More Datasheets from Holtek Semiconductor

View all Holtek Semiconductor datasheets

Part Number Description
HT46R002 Cost-Effective A/D 8-Bit OTP MCU
HT46R003 Cost-Effective A/D 8-Bit OTP MCU
HT46R003B Cost-Effective A/D 8-bit OTP MCU
HT46R005 Small Package 8-Bit OTP MCU
HT46R006 Small Package 8-Bit OTP MCU
HT46R01 (HT46R01 - HT46R03) 10-Pin MSOP A/D Type 8-Bit OTP MCU
HT46R016 (HT46R016 / HT46R017) 8-Bit OTP MCU
HT46R017 (HT46R016 / HT46R017) 8-Bit OTP MCU
HT46R01B (HT4xR0xx) Small Package 8-Bit OTP MCU
HT46R01B-1 Small Package 8-Bit OTP MCU

HT46R004 Distributor

Datasheet4U Logo
Since 2006. D4U Semicon. About Datasheet4U Contact Us Privacy Policy Purchase of parts