Download BA76220 Datasheet PDF
Holtek Semiconductor
BA76220
BA76220 is PIR Controller manufactured by Holtek Semiconductor.
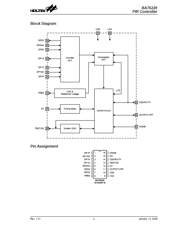
Features - Operating voltage: 2.2V~5.5V - Standby current: 12μA (Typ.) - CDS input - High noise immunity - 40-second warm-up or 10-second fast mode - 6 hour adjustable PIR turn-on timing - Output drive pin - Low voltage detector - Package type: 16-pin NSOP Applications - PIR light control - Motion detectors - Auto door bells Development Tools For rapid product development and to simplify device parameter setting, Holtek has provided relevant development tools which users can download from the following link: https://.holtek./page/tool-detail/dev_plat/security/PIR_Parameter_Platform General Description The BA76220 is a controller specifically designed for human infrared sensors (PIR Sensor), featuring high sensitivity, low power consumption and multi-functional output control, suitable for various smart sensing applications. It also supports OTP (One-Time Programmable) ROM, allowing customization of IC parameters to meet specific application requirements. The controller is available in low profile 16-pin NSOP package. Rev. 1.01 January 13, 2026 Block Diagram OP2O OP2NC OP2N OP1O OP1N OP1NC OP1P VREG Amplifier CKT LDO & Reference Voltage Timing Delay TEST/SC System OSC BA76220 PIR Controller parator CKT LVD Control Circuit CDS/RX/TX OUTPUT/VPP MODE Pin Assignment OP1P OP1NC OP1N OP1O OP2NC OP2N OP2O...