Download HT37A30 Datasheet PDF
HT37A30 page 2
Page 2
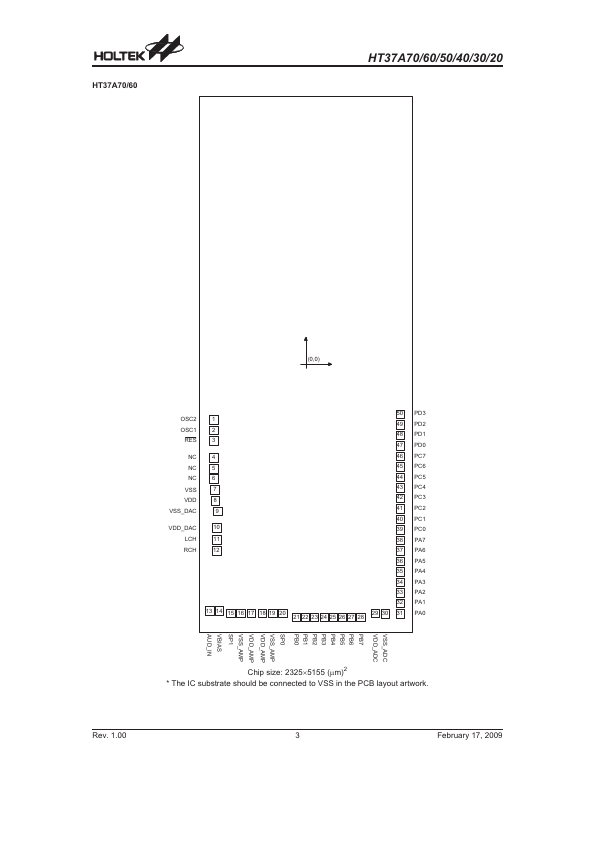
HT37A30 page 3
Page 3

HT37A30 Description

The device is an 8-bit high performance RISC architecture microcontroller specifically designed for various Music and ADPCM applications. It provides an 8-bit MCU and 8-channel Wavetable synthesizer. It has a in- tegrated 8-bit micro controller which controls the synthesizer to generate the melody by setting the special register.

HT37A30 Key Features

  • Operating voltage: 3.6V~5.5V (HT37A70/60) 3.3V~5.5V (HT37A50/40) 2.4V~5.5V (HT37A30/20)
  • Operating frequency: 11.059MHz
  • Oscillation modes for the Oscillator clock
  • Built-in 8-bit MCU (HT-8) with 320´8 bits RAM
  • Built-in 32K´16-bits to 256K´16-bits ROM for program/data shared
  • Eight-level subroutine nesting
  • Two 8 bit timer and one 16 bit timer
  • Watchdog timer
  • Power-down and Wake-up features for power saving
  • 16-bit table read instructions for any bank/page read