Download HT12A Datasheet PDF
HT12A page 2
Page 2
HT12A page 3
Page 3

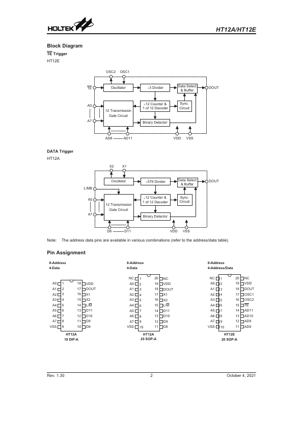
HT12A Description

The 212 encoders are a series of CMOS LSIs for remote control system applications. They are capable of encoding information which consists of N address bits and 12-N data bits. Each address/data input can be set to one of the two logic states.

HT12A Key Features

  • Operating voltage
  • 2.4V~5V for the HT12A
  • 2.4V~12V for the HT12E
  • Low power and high noise immunity CMOS technology
  • Low standby current: 0.1mA (typ.) at VDD=5V
  • HT12A with a 38kHz carrier for infrared transmission
  • Minimum transmission word
  • Four words for the HT12E
  • One word for the HT12A
  • Built-in oscillator needs only 5% resistor