Datasheet4U Logo Datasheet4U.com

M101NWT2R2 - LCD

📥 Download Datasheet

Full PDF Text Transcription (Reference)

The following content is an automatically extracted verbatim text from the original manufacturer datasheet and is provided for reference purposes only.

View original datasheet text
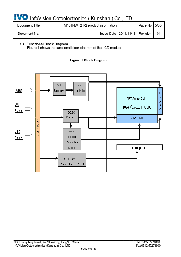
InfoVision Optoelectronics ( Kunshan ) Co.,LTD. Document Title M101NWT2 R2 Product Information Page No. 1/29 Document No. Issue Date 2010/04/30 Revision 05 Product Information To: Product Name: M101NWT2 R2 Document Issue Date: 2010/04/30 Note: 1. Please contact IiforVision Company. before designing your product based on this product. 2. The information contained herein is presented merely to indicate the characteristics and performance of our products. No responsibility is assumed by IVO for any intellectual property claims or other problems that may result from application based on the module described herein. FQ-7-30-0-009-02C ________________________________________________________________________ NO.