Datasheet4U Logo Datasheet4U.com

ME6214 - High Current Linear Regulator

📥 Download Datasheet

Datasheet Details

Part number ME6214
Manufacturer Microne
File Size 434.56 KB
Description High Current Linear Regulator
Datasheet download datasheet ME6214 Datasheet

Full PDF Text Transcription (Reference)

The following content is an automatically extracted verbatim text from the original manufacturer datasheet and is provided for reference purposes only.

View original datasheet text
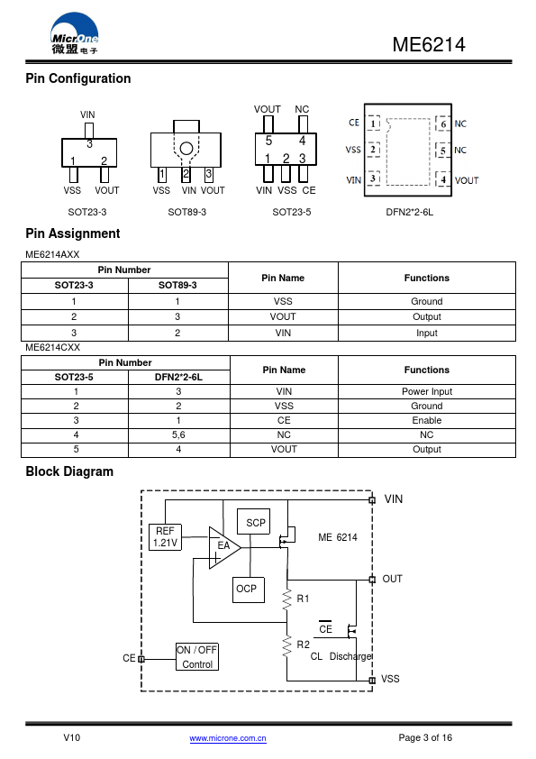
ME6214 0.7uA 、 ME6214 CMOS 、。 0.7uA, 0.01uA()。, , 。  ::0.7uA() :0.01uA()  :2.0~18V  :1.5~5.0V( 0.1V)  :±2%  :160mV@ IOUT =100mA(3.3V)  :300mA  : 30mA  : ON/ OFF, ME6214C ME6214A    、、 ● 3-pin SOT89-3,SOT23-3 ● 5-pin SOT23-5 ● 6-pin DFN2*2-6L VIN Vout VSS ME6214 CE NC CIN 1uF COUT 1uF V10 www.microne.com.cn Page 1 of 16 ME6214 ME 62 14 X XX X G M3:SOT23-3 M5:SOT23-5 P-SOT89-3 N6-DFN2*2-6L :A- C- ME6214A33M3G VO =3.3V,,:SOT23-3 ME6214A33PG VO =3.3V,,:SOT89-3 ME6214C18N6AG VO =1.8V,,:DFN2*2-6L ME6214C28N6AG VO =2.8V,,:DFN2*2-6L ME6214C30N6AG VO =3.0V,,:DFN2*2-6L ME6214C33M5G VO =3.3V,,:SOT23-5 ME6214C33N6G VO =3.3V,,:DFN2*2-6L : 7 :1.5V、1.8V、2.8V、3.0V、3.3V、4.5V、5.0V。 ,。 V10 www.microne.com.