Datasheet4U Logo Datasheet4U.com
NXP Semiconductors logo

PCF8584 Datasheet

Manufacturer: NXP Semiconductors
PCF8584 datasheet preview

Datasheet Details

Part number PCF8584
Datasheet PCF8584_PhilipsSemiconductors.pdf
File Size 224.86 KB
Manufacturer NXP Semiconductors
Description I2C-bus controller
PCF8584 page 2 PCF8584 page 3

PCF8584 Overview

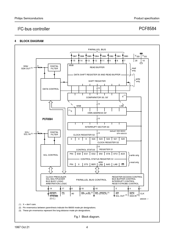
ORDERING INFORMATION BLOCK DIAGRAM PINNING FUNCTIONAL DESCRIPTION General Interface Mode Control (IMC) Set-up registers S0', S2 and S3 Own address register S0' Clock register S2 Interrupt vector S3 Data shift register/read buffer S0 Control/status register S1.

NXP Semiconductors logo - Manufacturer

More Datasheets from NXP Semiconductors

See all NXP Semiconductors datasheets

Part Number Description
PCF8582C-2 256 x 8-bit CMOS EEPROMS
PCF8583 Clock and calendar
PCF85053A Bootable CPU RTC
PCF85063A Tiny Real-Time Clock/calendar
PCF85063ATL Tiny Real-Time Clock/calendar
PCF85063BTL Tiny Real-Time Clock/calendar
PCF85063TP Tiny Real-Time Clock/calendar
PCF85102C-2 256 x 8-bit CMOS EEPROMs
PCF85103C-2 256 x 8-bit CMOS EEPROMs
PCF85116-3 2048 x 8-bit CMOS EEPROM

PCF8584 Distributor

Datasheet4U Logo
Since 2006. D4U Semicon. About Datasheet4U Contact Us Privacy Policy Purchase of parts