• Part: BD18326NUF-M
  • Description: 1ch Constant Current Driver
  • Manufacturer: ROHM
  • Size: 1.78 MB
Download BD18326NUF-M Datasheet PDF
ROHM
BD18326NUF-M
BD18326NUF-M is 1ch Constant Current Driver manufactured by ROHM.
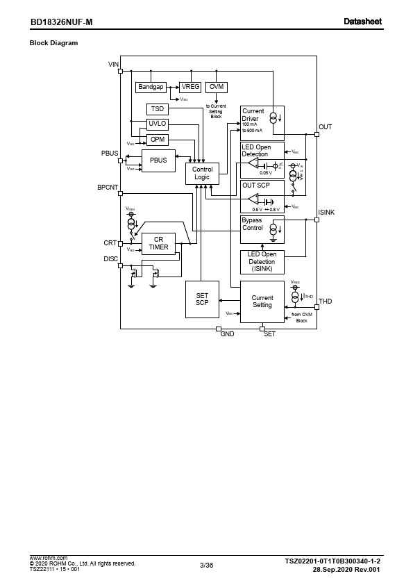
Description The BD18326NUF-M is a constant current driver IC for driving automotive LED lamp, that can withstand up to 40 V. Small-size package is suitable for use in socket LED driver applications. The BD18326NUF-M offers high reliability with built-in functions for the thermal de-rating function, the LED open detection, the output short circuit protection, the SET pin short circuit protection, the over-voltage mute function, the current bypass function at reduced-voltage, the output for fault flag function and the input for output current OFF control signal. Key Specifications - Input Voltage Range: 5.5 V to 20 V - Output Current Accuracy: ±5 % - Maximum Output Current: 400 m A (DC) 600 m A (ON Duty: 50 %) - Operating Temperature Tj: -40 °C to +150 °C Package VSON10FV3030 W (Typ) x D (Typ) x H (Max) 3.0 mm x 3.0 mm x 1.0 mm Features - AEC-Q100 Qualified(Note 1) - Functional Safety Supportive Automotive Products - CR Timer for PWM Dimming - Thermal De-rating Function (THD) - LED Open Detection - Output Short Circuit Protection (OUT SCP) - SET Pin Short Circuit Protection (SET SCP) - Over Voltage Mute Function (OVM) - Current Bypass Function at Reduced-Voltage - Disable LED Open Detection Function at Reduced-Voltage (OPM) - Output for Fault Flag / Input for Output Current OFF Control Signal (PBUS) (Note 1) Grade1 Applications - Automotive LED Exterior Lamps (Rear Lamp, Turn Lamp, DRL/Position Lamp, Fog Lamp) - Automotive Interior Lamps (Air Conditioner Lamp, Interior Light, Cluster Light etc.) Typical Application Circuit D1 D2 D3 RDCIN CCRT...