• Part: MS1023
  • Manufacturer: Ruimeng
  • Size: 647.31 KB
Download MS1023 Datasheet PDF
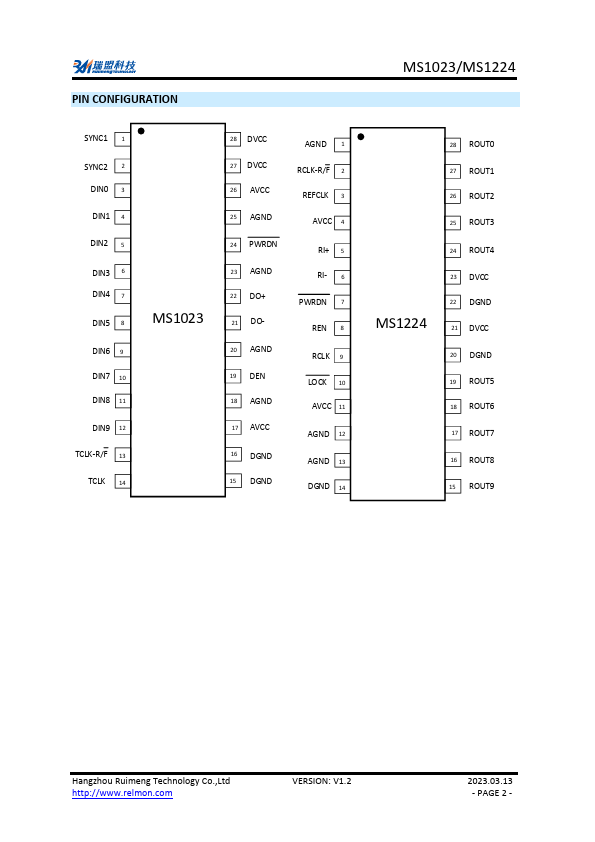
MS1023 page 2
Page 2
MS1023 page 3
Page 3

MS1023 Description

The MS1023 serializer and the MS1224 deserializer are a pair of 10-bit serial-to-parallel/parallel-to-serial converters, which are used to transmit and receive serial data at parallel word rates from 10MHz to 80MHz over LVDS differential backplanes. After loading the start/stop bits, it converts to a payload-encoded output with serial data rates between 120Mbps and 960Mbps. When powering up, this pair of chips can...

MS1023 Key Features

  • 100Mbps to 800Mbps Serial LVDS Data Payload Bandwidth at 10MHz to 80MHz System Clock
  • Chip Power Dissipation < 550mW (Typ) at 80MHz Input
  • Synchronization Mode for Locking Clock Quickly
  • Lock Indicator
  • No External ponents Required for PLL
  • SSOP28 Package
  • Programmable Edge Trigger on Clock
  • Flow-through Pinout for Easy PCB Layout