MS2575 Overview
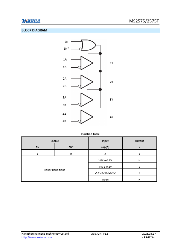
The MS2575/MS2575T is a low-dissipation four channel line receiver, which is applied to equalized or unequalized digital signal transmission. Four receivers all have enable function, which supports two optional inputs: active-high select and active-low select.
MS2575 Key Features
- Meet or Exceed the demands of ANSI TIA/EIA-422-B,TIA/EIA-423-B and ITU Suggestion V.10 and V.11
- Low Dissipation
- ±15V mon-Mode Input Range with ±200mV Sensitivity
- Input Hysteresis: 60mV Typical Value
- Power Supply: 2.5V-5.5V
- Tri-State Outputs
- Fail-safe for Open Input
- SOP16 or TSSOP16 Package
