Datasheet4U Logo Datasheet4U.com

MS5281D - 24bit 192kHz Dual Channel Differential Digital to Analog Converter

General Description

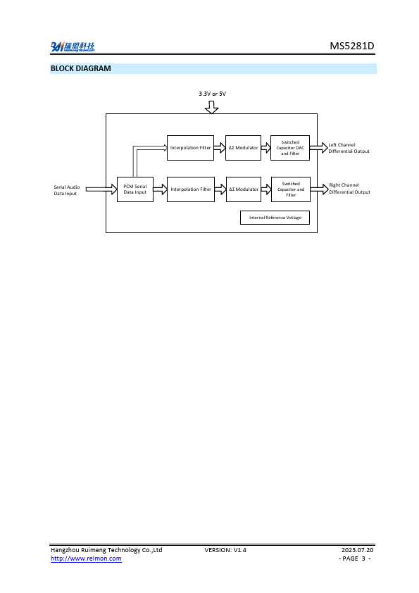
The MS5281D is a stereo digital-to-analog converter chip, which contains interpolation filter, a multi-bit Δ-Σ modulator, differential output analog filter.

The MS5281D supports most of audio data formats.

Key Features

  • make it ideal for wireless devices such as DVD playback decoders and digital communication devices. The MS5281D is available in DFN12 package.

📥 Download Datasheet

Datasheet Details

Part number MS5281D
Manufacturer Ruimeng
File Size 743.07 KB
Description 24bit 192kHz Dual Channel Differential Digital to Analog Converter
Datasheet download datasheet MS5281D Datasheet

Full PDF Text Transcription (Reference)

The following content is an automatically extracted verbatim text from the original manufacturer datasheet and is provided for reference purposes only.

View original datasheet text
MS5281D 24bit, 192kHz Dual Channel Differential Digital to Analog Converter PRODUCT DESCRIPTION The MS5281D is a stereo digital-to-analog converter chip, which contains interpolation filter, a multi-bit Δ-Σ modulator, differential output analog filter. The MS5281D supports most of audio data formats. It is based on the fourth order of a linear analog low pass filter and multi-bit Δ-Σ modulator. The MS5281D can automatically adjust the sample rate from 2kHz and 200kHz by detecting signal frequency and master clock frequency. The MS5281D can operate at 3.3V and 5V. These features make it ideal for wireless devices such as DVD playback decoders and digital communication devices. The MS5281D is available in DFN12 package.