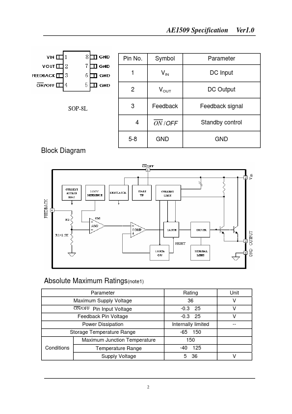
AE1509 Overview
3.3V, 5V, 12V three fixed output versions The AE1509 series of regulators are monolithic and adjustable version integrated circuits that provide all the active functions Output load current 2A Input voltage range up to 36V Requires only 4 external ponents 150 kHz fixed frequency internal for a step-down (buck) switching regulator, capable of driving a 2A load with excellent line and load regulation. These devices...
