Datasheet4U Logo Datasheet4U.com
SANYO (now Panasonic) logo

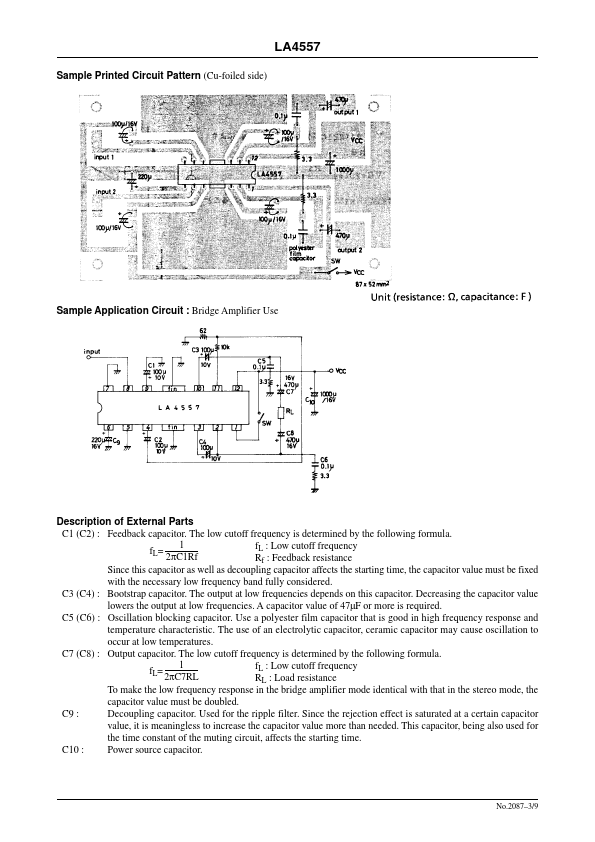
LA4557 Datasheet

Manufacturer: SANYO (now Panasonic)
LA4557 datasheet preview

Datasheet Details

Part number LA4557
Datasheet LA4557_SanyoSemiconDevice.pdf
File Size 273.65 KB
Manufacturer SANYO (now Panasonic)
Description 2-Channel AF Power Amp
LA4557 page 2 LA4557 page 3
SANYO (now Panasonic) logo - Manufacturer

More Datasheets from SANYO (now Panasonic)

See all SANYO (now Panasonic) datasheets

Part Number Description
LA4550 2-Channel AF Power Amplifier
LA4555 2-Channel AF Power Amplifier
LA4558 2-Channel AF Power Amp
LA4500 5.3W 2-Channel AF Power Amplifier
LA4505 2-CHANNEL AF POWER AMPLIFIER
LA4507 2-CHANNEL AF POWER AMPLIFIER
LA4508 2-CHANNEL AF POWER AMPLIFIER
LA4510 240MW AF Power Amplifier
LA4525 Dual AF Power Amplifier
LA4533M Power Amplifier

LA4557 Distributor

Datasheet4U Logo
Since 2006. D4U Semicon. About Datasheet4U Contact Us Privacy Policy Purchase of parts