Datasheet4U Logo Datasheet4U.com
SANYO (now Panasonic) logo

LA7293M Datasheet

Manufacturer: SANYO (now Panasonic)
LA7293M datasheet preview

LA7293M Details

Part number LA7293M
Datasheet LA7293M_SanyoSemiconDevice.pdf
File Size 151.58 KB
Manufacturer SANYO (now Panasonic)
Description Microphone Amplifier
LA7293M page 2

LA7293M Overview

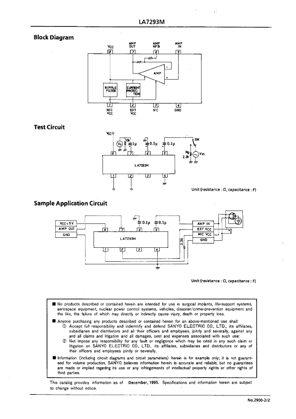
EN 2900 Monolithic Linear IC LA7293M Microphone Amplifier for Video Cameras Overview Discrete devices or an operational amplifier 4discrete devices have been so far used to make up a microphone amplifier block. However, we succeeded in developing the LA7293M a streamlin-ed microphone amplifier block IC that has the following functions.

LA7293M Key Features

  • Microphone amplifier
  • Power supply pin for microphone (with ripple
  • External power supply pin (with current limiter)
  • Power supply for capacitor microphone
  • External 5V supply
  • Microphone amplifier gain, frequency response
  • 10to +65
  • 55to +125
  • No products described or contained herein are intended for use in surgical implants, life-support systems, aerospace equ
  • Anyone purchasing any products described or contained herein for an above-mentioned use shall: © Accept full responsibil

LA7293M Distributor

SANYO (now Panasonic) Datasheets

More from SANYO (now Panasonic)

Datasheet4U Logo
Since 2006. D4U Semicon. About Datasheet4U Contact Us Privacy Policy Purchase of parts