Datasheet4U Logo Datasheet4U.com
SANYO (now Panasonic) logo

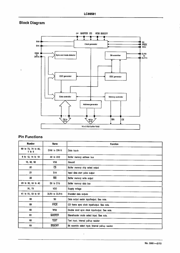
LC89581 Datasheet

Manufacturer: SANYO (now Panasonic)
LC89581 datasheet preview

Datasheet Details

Part number LC89581
Datasheet LC89581_SanyoSemiconDevice.pdf
File Size 162.92 KB
Manufacturer SANYO (now Panasonic)
Description Encoder
LC89581 page 2 LC89581 page 3
SANYO (now Panasonic) logo - Manufacturer

More Datasheets from SANYO (now Panasonic)

See all SANYO (now Panasonic) datasheets

Part Number Description
LC89582 ATIP Decoder
LC89583 Data Encoder
LC89585 CD Encoder LSI
LC895124 CD-ROM Driver
LC895125Q CD-ROM Driver
LC895125W CD-ROM Driver
LC895126 CD-ROM Decoder
LC895127 40 x CD-ROM Decoder
LC895127K 40 x CD-ROM Decoder
LC89512W CD-ROM Error Correction LSI

LC89581 Distributor

Datasheet4U Logo
Since 2006. D4U Semicon. About Datasheet4U Contact Us Privacy Policy Purchase of parts