• Part: SY20807B
  • Manufacturer: Silergy
  • Size: 1.26 MB
Download SY20807B Datasheet PDF
SY20807B page 2
Page 2
SY20807B page 3
Page 3

SY20807B Description

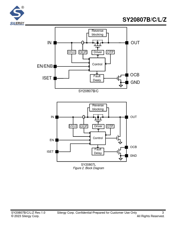
The SY20807 is a current-limited P-channel MOSFET power switch designed for USB load-switching or hot-plug applications. Its ultra-low RDS(ON) and current limit protect the power source from overcurrent and short-circuit conditions. An external resistor is used to configure the current limit threshold between 0.2A and 2A.

SY20807B Key Features

  • Input Voltage: 2.5V to 5.5V
  • Extremely Low Power Path Resistance: 65mΩ (Typ.)
  • Adjustable Current Limit Up to 2.0A
  • Overtemperature Shutdown and Automatic Retry
  • SY20807B/C/Z: Automatic Retry
  • SY20807L: Latch Off After Current Limit 2ms
  • Automatic Output Discharge at Shutdown
  • SY20807L/Z: Auto Output Voltage Discharge
  • SY20807B/C: No Output Voltage Discharge
  • Fast Trip Protection Logic During VOUT Hard Short