Datasheet4U Logo Datasheet4U.com
Silergy logo

SY20807Z

Manufacturer: Silergy

SY20807Z datasheet by Silergy.

This datasheet includes multiple variants, all published together in a single manufacturer document.

SY20807Z datasheet preview

SY20807Z Datasheet Details

Part number SY20807Z
Datasheet SY20807Z SY20807B Datasheet (PDF)
File Size 1.26 MB
Manufacturer Silergy
Description Low Loss Power Distribution Switch
SY20807Z page 2 SY20807Z page 3

SY20807Z Overview

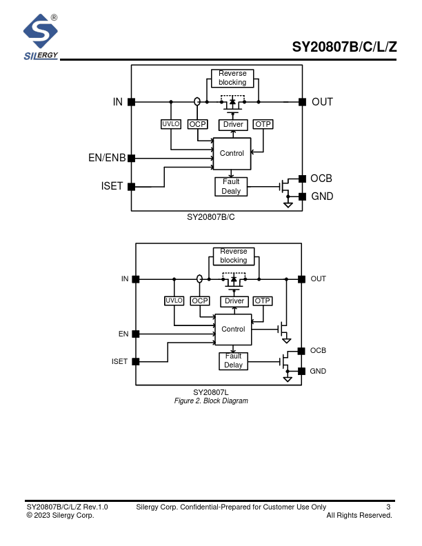
The SY20807 is a current-limited P-channel MOSFET power switch designed for USB load-switching or hot-plug applications. Its ultra-low RDS(ON) and current limit protect the power source from overcurrent and short-circuit conditions. An external resistor is used to configure the current limit threshold between 0.2A and 2A.

SY20807Z Key Features

  • Input Voltage: 2.5V to 5.5V
  • Extremely Low Power Path Resistance: 65mΩ (Typ.)
  • Adjustable Current Limit Up to 2.0A
  • Overtemperature Shutdown and Automatic Retry
  • SY20807B/C/Z: Automatic Retry
  • SY20807L: Latch Off After Current Limit 2ms
  • Automatic Output Discharge at Shutdown
  • SY20807L/Z: Auto Output Voltage Discharge
  • SY20807B/C: No Output Voltage Discharge
  • Fast Trip Protection Logic During VOUT Hard Short
Silergy logo - Manufacturer

More Datasheets from Silergy

View all Silergy datasheets

Part Number Description
SY20807ZDEC Low Loss Power Distribution Switch
SY20807B Low Loss Power Distribution Switch
SY20807BDEC Low Loss Power Distribution Switch
SY20807C Low Loss Power Distribution Switch
SY20807CABC Low Loss Power Distribution Switch
SY20807CDEC Low Loss Power Distribution Switch
SY20807L Low Loss Power Distribution Switch
SY20807LABC Low Loss Power Distribution Switch
SY20816C 2 to 1 Power MUX
SY20819E Programmable High Current Protection Switch

SY20807Z Distributor

Datasheet4U Logo
Since 2006. D4U Semicon. About Datasheet4U Contact Us Privacy Policy Purchase of parts