• Part: SY26420
  • Description: 2A Asynchronous Step Down Regulator
  • Manufacturer: Silergy
  • Size: 755.73 KB
Download SY26420 Datasheet PDF
SY26420 page 2
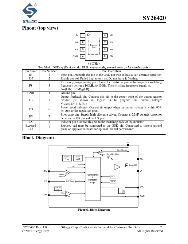
Page 2
SY26420 page 3
Page 3

Datasheet Summary

High Efficiency, 60V Input, 2A Asynchronous Step Down Regulator General Description The SY26420 develops a high efficiency, current mode adaptive constant OFF time controlled, asynchronous step-down DC/DC converter capable of delivering 2A output current. The SY26420 operates over a wide input voltage range from 4.5V to 60V and integrates main switch with very low RDS(ON) to minimize the conduction loss. The switching frequency is adjustable from 100kHz to 1MHz using an external resistor. And the device Features cycle-by-cycle peak current limitation. Ordering Information Features - Low RDS(ON) for Internal N-channel Power FET (TOP):175mΩ - 4.5-60V Input Voltage Range - 2A Output Current Capability - Adjustable Switching Frequency Range: 100kHz to1MHz - Internal Soft-start Limits the Inrush Current - Hic-cup Mode Output Short Circuit Protection - EN ON/OFF Control with Accurate Threshold - Cycle-by-cycle Peak Current Limit - 0.8V±1.5% Reference Voltage Accuracy - pact Package: SO8E Ordering Number Package type Note SY26420FCC SO8E -- Applications - Non-isolated Telemunication Buck Regulator - Secondary High Voltage Post Regulator - Automotive Systems - Electric Bicycle Typical Applications CBS VIN CIN...