• Part: SY6813C
  • Description: Low On-Resistor Slew-Rate-Controlled Load Switch
  • Manufacturer: Silergy
  • Size: 715.54 KB
Download SY6813C Datasheet PDF
Silergy
SY6813C
SY6813C is Low On-Resistor Slew-Rate-Controlled Load Switch manufactured by Silergy.
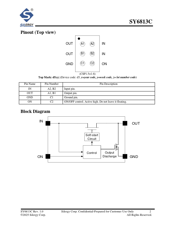
Low On-Resistor, Slew-Rate-Controlled Load Switch General Description The SY6813C is an ultra-low RDS (ON) load switch. The controlled ramp up speed avoids the inrush current during turn on. The device works under a wide input voltage range from 1.2V to 5.5V. Ordering Information SY6813- (- - - ) Package Code Optional Spec Code Ordering Number Package type Note SY6813CPES CSP1.5×1-6 ---- Features - 1.2V to 5.5V Input Voltage Range with 6V...