• Part: SY8121C1
  • Description: Synchronous Step Down Regulator
  • Category: Voltage Regulator
  • Manufacturer: Silergy
  • Size: 686.85 KB
Download SY8121C1 Datasheet PDF
Silergy
SY8121C1
SY8121C1 is Synchronous Step Down Regulator manufactured by Silergy.
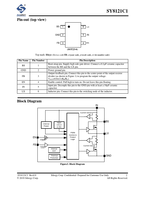
Description The SY8121C1 is a high efficiency, synchronous stepdown DC/DC converter capable of delivering 2A load current. The SY8121C1 operates over a wide input voltage range from 4.2V to 18V and integrates main switch and synchronous switch with very low RDS(ON) to minimize the conduction loss. The SY8121C1 adopts the instant PWM architecture to achieve fast transient responses for high step down applications and high efficiency at light loads. In addition, it operates at pseudo-constant frequency of 1.2MHz to minimize the size of inductor and capacitor. Ordering Information SY8121 - (- - )- Tempera ture Code Pa cka ge Code Optional Spec Code Ordering Number Package type Note SY8121C1ABC SOT23-6 ---- Features - Low RDS(ON) for Internal Switches (Top/Bottom): 130mΩ/105mΩ - 4.2-18V Input Voltage Range - 2A Output Current Capability - 1.2MHz Switching Frequency Minimize the External ponents - Stable with 10µF COUT and 1µH Inductor - Instant PWM Architecture to Achieve Fast Transient Responses - Internal Soft-start Limits the Inrush Current - Cycle-by-cycle Peak/Valley Current Limitation - Hic-cup Mode Output Short Circuit Protection - Thermal Shutdown with Auto Recovery - pact Package SOT23-6 Applications - Set Top Box - Portable TV - DSL Modem - LCD TV - IP CAM - Networking Typical Application CBS 100n F VIN :4.2~18V CIN 10μF L 3.3μH VOUT: 3.3V RH 100k CFF 100p...