• Part: QW2880A
  • Description: LED Emergency Lighting driver
  • Manufacturer: SincereTek
  • Size: 242.20 KB
Download QW2880A Datasheet PDF
QW2880A page 2
Page 2
QW2880A page 3
Page 3

QW2880A Datasheet Summary

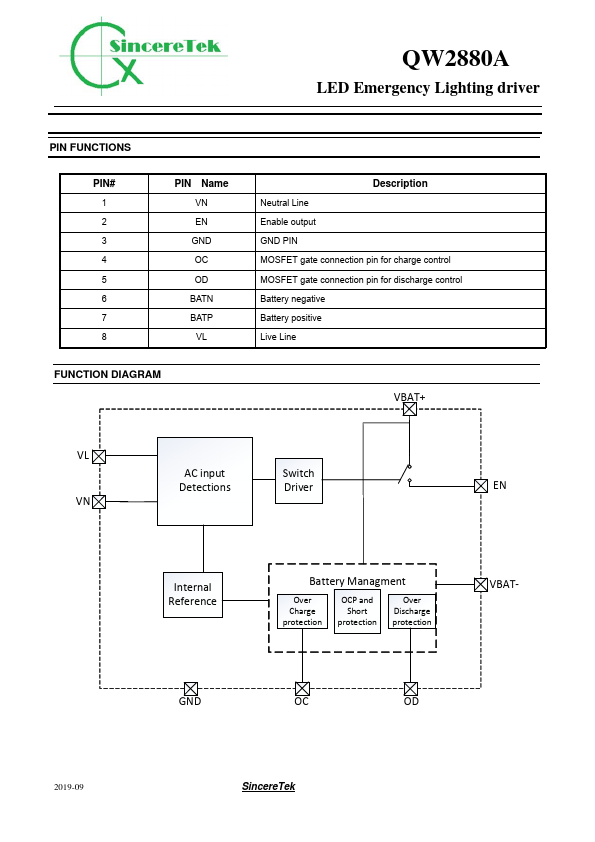
LED Emergency Lighting driver General Description Package Reference QW2880A is a LED driver designed for Emergency Lighting., The QW2880A employs patent protected main line detecting methodology to control and drive the emergency lighting system, without any peripheral ponents. The QW2880A can drive an LED load directly or to enable a boost circuitry, while the AC input main line could be 85-265Vac. QW2880A integrates a precise single lithium-ion /polymer battery management functional blocks to protect the lithium-ion/polymer battery, including Over Current Protection, Over Charge Protection, Over Discharge Protection and Short Circuit Protection. QW2880A can deliver as large as 2A output current. QW2880A is available in SOP-8 package. Features 1 VN 2 EN 3 GND 4 OC VL 8 BATP 7 BATN 6 OD 5 (Top View) SOP-8 Application - Simplified application circuitry - AC main line detecting directly - 85-265Vac - EN PIN 2A output current - Integrated single lithium-ion/polymer battery management and protection - Emergency lighting - Stand-by Lighting Typical Application 2019-09 SincereTek LED Emergency Lighting driver PIN FUNCTIONS PIN# 1 2 3 4 5 6 7 8 PIN Name VN EN GND OC OD BATN BATP VL Description Neutral Line Enable output GND PIN MOSFET gate connection pin for charge control MOSFET gate connection pin for discharge control Battery negative Battery positive Live...