• Part: SSD0817
  • Description: LCD Segment / Common Driver
  • Manufacturer: Solomon Systech
  • Size: 428.49 KB
Download SSD0817 Datasheet PDF
Solomon Systech
SSD0817
SSD0817 is LCD Segment / Common Driver manufactured by Solomon Systech.
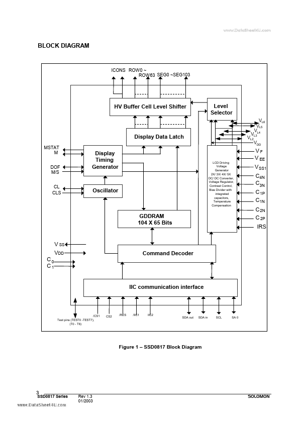
SOLOMON SYSTECH LIMITED SEMICONDUCTOR TECHNICAL DATA .. Advance Information CMOS LCD Segment / mon Driver with Controller SSD0817 is a single-chip CMOS LCD driver with controllers for dot-matrix graphic liquid crystal display system. It consists of 169 high-voltage driving outputs for driving maximum 104 Segments, 64 mons and 1 icon line. SSD0817 consists of 104 x 65 bits Graphic Display Data RAM (GDDRAM). Data/mands are sent from mon MCU through I2C-bus Interface. SSD0817 embeds DC-DC Converter with booster capacitors, On-Chip Oscillator and Bias Divider so as to reduce the number of external ponents. With the advanced design for low power...