Datasheet Details
| Part number | SSD0859 |
|---|---|
| Manufacturer | Solomon Systech |
| File Size | 506.61 KB |
| Description | 128 x 80 STN LCD Segment / Common 4 G/S Drive |
| Datasheet | SSD0859_SolomonSystech.pdf |
|
|
|
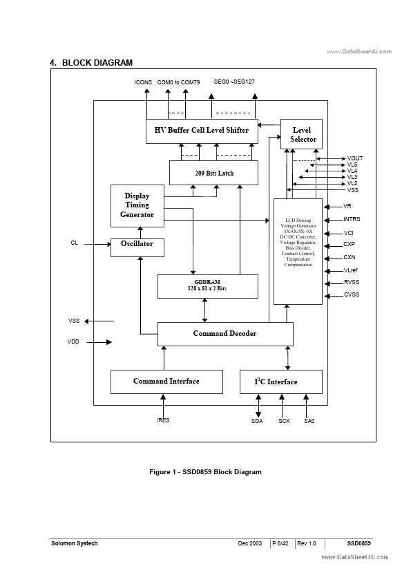
Overview: SOLOMON SYSTECH SEMICONDUCTOR TECHNICAL DATA www.DataSheet4U.com SSD0859 Advance Information 128 x 80 STN LCD Segment / Common 4 G/S Driver with Controller This document contains information on a new product. Specifications and information herein are subject to change without notice. http://www.solomon-systech.com SSD0859 Rev 1.0 P1/42 Dec 2003 Copyright 2003 Solomon Systech Limited TABLE OF CONTENTS www.DataSheet4U.com 1.
| Part number | SSD0859 |
|---|---|
| Manufacturer | Solomon Systech |
| File Size | 506.61 KB |
| Description | 128 x 80 STN LCD Segment / Common 4 G/S Drive |
| Datasheet | SSD0859_SolomonSystech.pdf |
|
|
|
.................................................................................................................
5 2.
| Part Number | Description |
|---|---|
| SSD1030 | Boost Regulating White LED drivers |
| SSD1283A | TFT Driver |
| SSD1289 | 240 RGB x 320 TFT LCD Controller Driver |
| SSD1298 | 240 RGB x 320 TFT LCD Controller Driver |
| SSD1301 | OLED/PLED segment / common driver |
| SSD1305 | OLED/PLED Segment/Common Driver |
| SSD1306 | 128 x 64 Dot Matrix OLED/PLED Segment/Common Driver |
| SSD1306B | OLED/PLED Segment/Common Driver |
| SSD1307 | 128 x 39 Dot Matrix OLED/PLED Segment/Common Driver |
| SSD1308 | 128 x 64 Dot Matrix OLED/PLED Segment/Common Driver |