• Part: SSD1619A
  • Description: Active Matrix EPD Display Driver
  • Manufacturer: Solomon Systech
  • Size: 952.89 KB
Download SSD1619A Datasheet PDF
Solomon Systech
SSD1619A
SSD1619A is Active Matrix EPD Display Driver manufactured by Solomon Systech.
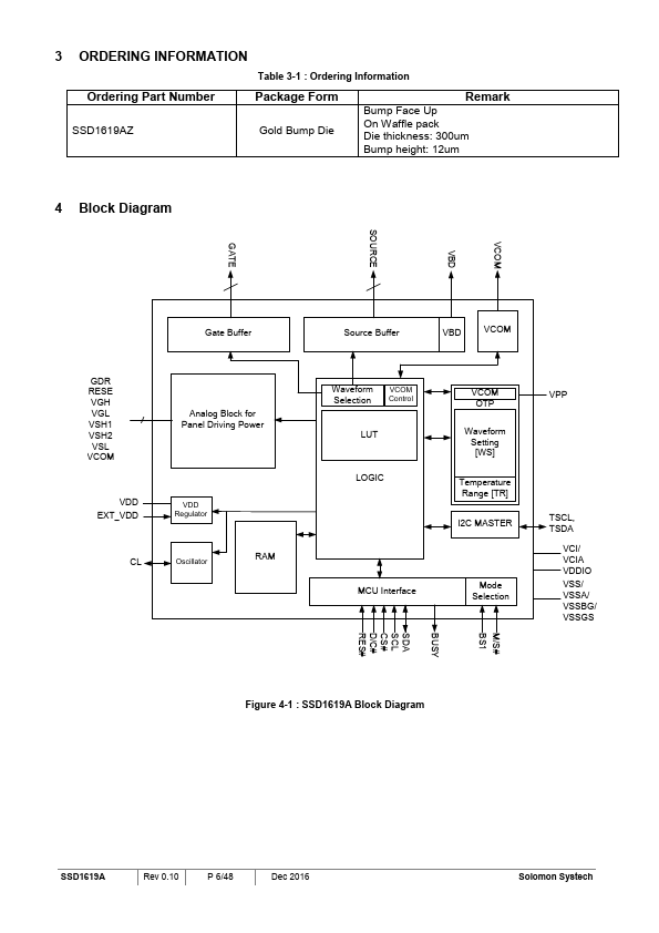
SOLOMON SYSTECH SEMICONDUCTOR TECHNICAL DATA Product Preview 400 Source x 300 Gate Red/Black/White Active Matrix EPD Display Driver with Controller This document contains information on a product under development. Solomon Systech reserves the right to change or discontinue this product without notice. http://.solomon-systech. Rev 0.10 P 1/48 Dec 2016 Copyright  2016 Solomon Systech Limited 1 General Description The SSD1619A is an Active Matrix EPD Display Driver with Controller which can support Red/Black/White. It consists of 400 source outputs, 300 gate outputs, 1 V and 1 VBD for border that can support a maximum display resolution 400x300. In addition, the SSD1619A has a cascade mode that can support higher display resolution. The SSD1619A embeds booster, regulators and oscillator. Data/mands are sent from general MCU through the hardware selectable Serial peripheral. 2 Features - Design for dot matrix type active matrix EPD display - Support Red/Black/White mono color - Resolution: 400 source outputs; 300 gate outputs; 1 V; 1VBD for border. - Power supply: - VCI: 2.2 to 3.7V - VDDIO: Connect to VCI - VDD: 1.8V, regulate from VCI supply - On chip display RAM - Mono B/W: 400x300 bits - Mono Red: 400x300 bits - On-chip booster and regulator for generating V, Gate and Source driving voltage. - Gate driving output voltage: - 2 levels output (VGH, VGL). - Max 40Vp-p. - VGH: 10V to 20V; VGL: -VGH. - Voltage adjustment step: 500m V. - Source / VBD driving output...