• Part: SSD1623
  • Description: 3-Level Generic Display Driver CMOS
  • Manufacturer: Solomon Systech
  • Size: 317.04 KB
Download SSD1623 Datasheet PDF
Solomon Systech
SSD1623
SSD1623 is 3-Level Generic Display Driver CMOS manufactured by Solomon Systech.
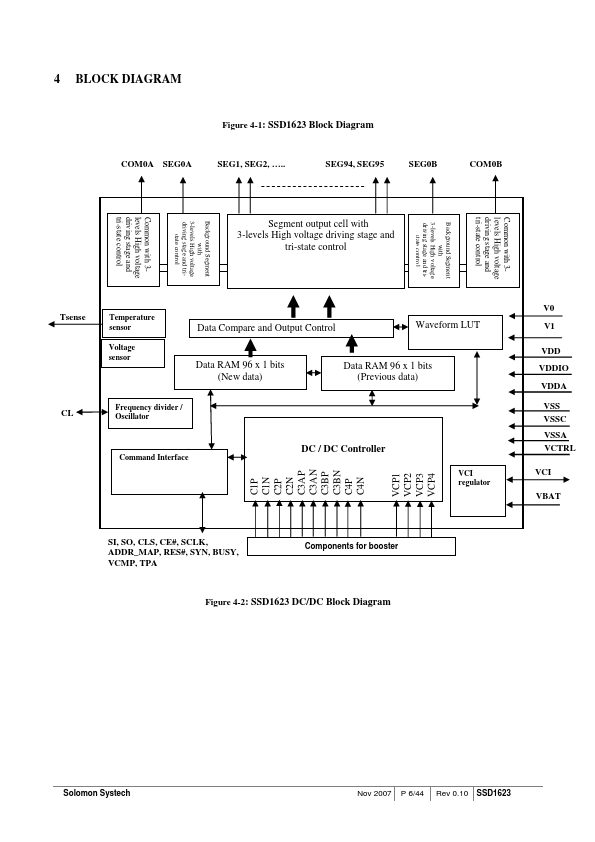
SOLOMON SYSTECH SEMICONDUCTOR TECHNICAL DATA Product Preview 96 Segments with mon 3-Level Generic Display Driver CMOS This document contains information on a product under development. Solomon Systech reserves the right to change or discontinue this product without notice. http://.solomon-systech. Rev 0.10 P1/44 Nov 2007 Copyright  2007 Solomon Systech Limited 1 GENERAL DESCRIPTION SSD1623 is a CMOS generic display driver with controller. It has 95 segments, 1 background segment and 1 mon output. Each segment / mon is capable of 3-voltage levels output. SSD1623 is designed for SPI interface with hardware address map setting pin, allowing two SSD1623 connected to same SPI bus, increasing the available number of segments. SSD1623 embeds with flexible and power saving DC/DC to general high voltage for panel driving. VCI regulator is embedded to accept direct power supply from Lithium battery. Battery voltage and IC temperature sensor are built. 2 Features - 3-level output generic driver: V0, V1 and VSS. Each pin level can be individually programmed to V0, V1, VSS or Hi-Z. - Power supply - VDD: 2.0 to 3.6V (Logic operation) - VDDIO: 2.0 to VDD (MCU interface) - V0: 10 to 40V (High voltage panel driving) - VCI: 2.4 to 3.6V (Charge pump and analog power supply) - VBAT: 2.8 to 4.5V (Li battery supply) - VBAT can be supplied directly from Li - battery when option VCI regulator is...