• Part: SSD1859
  • Description: 128 x 80 STN LCD Segment / Common 4 G/S Drive
  • Manufacturer: Solomon Systech
  • Size: 577.05 KB
Download SSD1859 Datasheet PDF
Solomon Systech
SSD1859
SSD1859 is 128 x 80 STN LCD Segment / Common 4 G/S Drive manufactured by Solomon Systech.
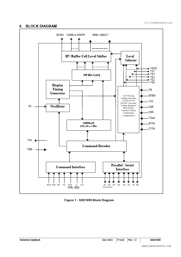
DESCRIPTION .. SSD1859 is a single-chip CMOS LCD driver with controller for liquid crystal dot-matrix graphic display system. SSD1859 consists of 210 high voltage driving output pins for driving 128 Segments and 80 mons and 1 icon line. SSD1859 display data directly from its internal 128x81x2 bits Graphic Display Data RAM (GDDRAM). Data/mands are sent from general MCU through hardware selectable 6800-/8080series patible Parallel Interface or 3/4 wires Serial Peripheral Interface. SSD1859 embeds a DC-DC Converter, a LCD Voltage Regulator, an On-Chip Bias Divider, integrated bias capacitors, integrated booster capacitors and an On-Chip Oscillator, which reduce the number of external ponents. With the special design on minimizing power consumption and die/package layout, SSD1859 is suitable for any portable battery-driven applications requiring long operation period and pact size. 2. FEATURES 128x80 + 1 icon line, 4 gray-levels Graphic Display Programmable Multiplex ratio [16Mux - 81Mux] Single Supply Operation, 1.8 V - 3.3V Low Current Sleep Mode On-Chip Voltage Generator / External Power Supply Software selectable 3X / 4X / 5X / 6X On-Chip DC-DC Converter On-Chip Oscillator On-Chip Bias Dividers Programmable 1/4, 1/5, 1/6, 1/7, 1/8, 1/9 and 1/10 bias ratio Maximum +15.0V LCD Driving Output Voltage Hardware pin selectable for 8-bit 6800-series Parallel Interface, 8-bit 8080-series Parallel Interface, 3-wire Serial Peripheral Interface or 4-wire Serial Peripheral Interface On-Chip 128x81x2 Graphic Display Data RAM Re-mapping of Row and Column Drivers Vertical Scrolling Display Offset Control 64 Level Internal Contrast Control External Contrast Control Integrated Cap Maximum 15MHz SPI or 18MHz PPI (8 bit) operation Selectable LCD Driving Voltage Temperature Coefficients (2 settings) Available in Gold Bump Die 3. ORDERING INFORMATION Ordering Part Number SSD1859Z SEG 128 80 + 1 Package Form Gold Bump Die Table 1 - Ordering Information Reference Figure 2 on...