• Part: TTP024
  • Description: a high performance remote control transmitter
  • Manufacturer: TONTEK
  • Size: 659.09 KB
Download TTP024 Datasheet PDF
TONTEK
TTP024
TTP024 is a high performance remote control transmitter manufactured by TONTEK.
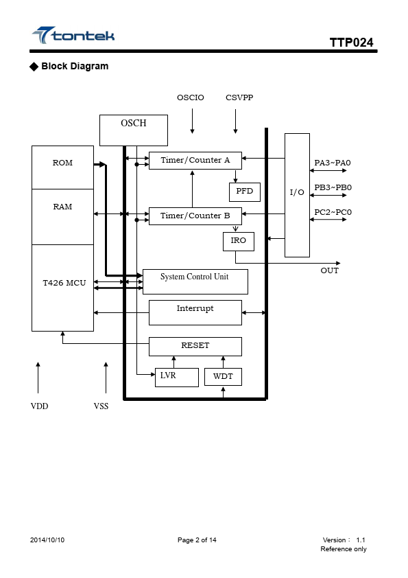
Description TTP024 is a high performance remote control transmitter with easy used 4-bits CPU base microcontroller,it is specially designed for use on infrared remote control applications。 All protocols are available by Programming。 The Timing & Format of Bit-A、Bit-B、Bit-C、Bit-D、 Bit-0、Bit-1,and the Frame Timing of Sequential Output can be programmable to meet the need of customer。The transmission code consists any type including“ Custom Code(Max. 32 Bits) "、“ Custom Inverse Code(Max. 32 Bits) "、“ Data Code(Max. 8 Bits) "、 “ Data Inverse code(Max. 8 Bits) "、“ Bit-A "、“ Bit-B "、“ Bit-C "、“ Bit-D "、 “ Bit-0 "、“ Bit-1 "、“ Toggle Bit "…..。 - Feature Description ◇ Tontek RISC 4-bit CPU core ◇ MTP structure .2Kx16 ROM x1 .1Kx16 ROM x2 ◇ Total 26 crucial instructions and two addressing mode ◇ Most instructions need 1 word and 1 machine cycle(2 system clocks) except read table instruction(RTB) ◇ advance CMOS process ◇ Working memory with 2K- 16 program ROM and 64- 4 SRAM ◇ 2-level stacks ◇ Low power consumption (VDD = 2.0V ~ 3.6V) ◇ PPM (Pulse Position Modulation) code method ◇ Build-in Internal Oscillator Frequency 455 KHz ± 2% ◇ 16 Custom Code (16 Bits) can be programmable ◇ 66 Key Data Code (8 Bits) can be programmable ◇ LED Display ◇ Used or No-used the Transistor [ By Programming ] ◇ Carry (Duty) or No-Carry [ By Programming ] ◇ Transmission Code Format [ By Programming ] ◇ SOP-16 Package (150 mil) 2014/10/10 Page 1 of 14 Version: 1.1 Reference only - Block Diagram OSCH OSCIO CSVPP ROM RAM Timer/Counter A PFD Timer/Counter B IRO T426 MCU System Control Unit Interrupt RESET PA3~PA0 I/O PB3~PB0 PC2~PC0 OUT 2014/10/10 Page 2 of 14 Version: 1.1 Reference only - Package Configuration - Pin Description PIN No. SOP-16 1 2 3 4 5 6 7 8 9 10 11 12 13 15 16 PIN Name VSS OSCIO K0/PA0 K1/PA1 K2/PA2/CLK K3/PA3 K4/PB0 K5/PB1 K6/PB2/SDA K7/PB3 K8/PC0 K9/PC1 K10/PC2 CSVPP OUT VDD I/O Description P Negative Power Supply IO Input...