Datasheet4U Logo Datasheet4U.com
Weltrend Semiconductor logo

WT6621 Datasheet

Manufacturer: Weltrend Semiconductor
WT6621 datasheet preview

Datasheet Details

Part number WT6621
Datasheet WT6621-Weltrend.pdf
File Size 174.65 KB
Manufacturer Weltrend Semiconductor
Description Dual USB Power Control Switch
WT6621 page 2 WT6621 page 3

WT6621 Overview

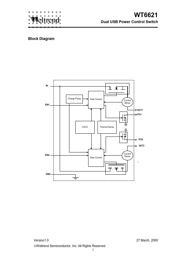
The WT6621 is a dual integrated power switch optimized for self-powered and bus-powered Universal Serial Bus (USB) applications. Few external ponents are necessary to satisfy USB requirements. With independent enable and error flag functions, the WT6621 can ease control the supplied power conditions of USB down stream;.

Weltrend Semiconductor logo - Manufacturer

More Datasheets from Weltrend Semiconductor

See all Weltrend Semiconductor datasheets

Part Number Description
WT6615F USB Power Delivery and Quick Charge Controller
WT6632F USB Power Delivery Controller
WT6633P USB Power Delivery and Quick Charge Controller
WT6635P USB Power Delivery Controller
WT6636F USB Power Delivery & Quick Charge Controller
WT6639F Dual-port USB Power Delivery and Quick Charge Controller
WT6014 Digital Monitor Controller
WT6016 Digital Monitor Controller
WT6018 Digital Monitor Controller
WT60P1 Digital Monitor Controller

WT6621 Distributor

Datasheet4U Logo
Since 2006. D4U Semicon. About Datasheet4U Contact Us Privacy Policy Purchase of parts