• Part: 25Q64
  • Description: 64 Megabit Serial Flash Memory
  • Manufacturer: Zetta
  • Size: 1.57 MB
Download 25Q64 Datasheet PDF
Zetta
25Q64
25Q64 is 64 Megabit Serial Flash Memory manufactured by Zetta.
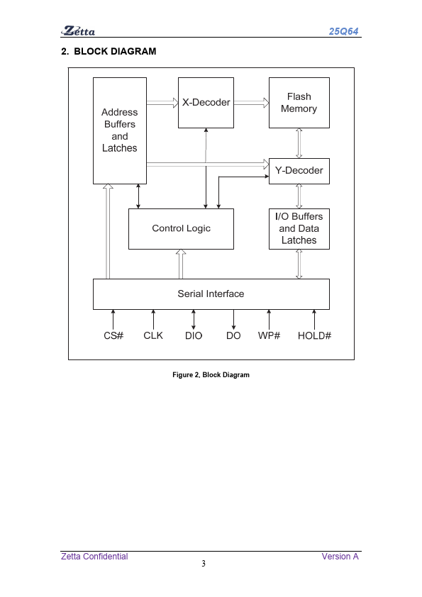
25Q64 64 Megabit Serial Flash Memory with 4Kbytes Uniform Sector ZD25Q64 Features Family of SPI Flash Memories - ZD25Q: 64M-bit / 8M-byte - Standard SPI: CLK, /CS, DI, DO, /WP, /Hold - Dual SPI: CLK, /CS, IO0, IO1, /WP, /Hold - Quad SPI: CLK, /CS, IO0, IO1, IO2, IO3 Flexible Architecture with 4KB sectors - Uniform Sector Erase (4K-bytes) - Uniform Block Erase (32K and 64K-bytes) - Program 1 to 256 byte per programmable page Highest Performance Serial Flash - 108MHz Standard/Dual/Quad SPI clocks - More than 100,000 erase/program cycles - More than 20-year data retention - Continuous Read With 8/16/32/64-byte Wrap Low Power consumption - 8 mA typical active current - 10mA active current,...